Упс, к сожалению, версия вашего браузера несовместима с сайтом. Вероятнее всего она устарела или давно не обновлялась.
Попробуйте открыть сайт atvstyle.ru с одного из поддерживаемых браузеров:
Google
Chrome
Safari
Mozilla
Firefox
Microsoft
Edge
Opera
Yandex
Browser

Ваша корзина
Ваша корзина пуста
Перейти в каталог
Личный кабинет +7 903 799 1446 +7 985 444 5566
модель 2012 года
  • Модель GTX 215
  • Схема FRONT COVER для GTX 215, (42CA, 42CB)

  • Код модели GTX 215, (42CA, 42CB)
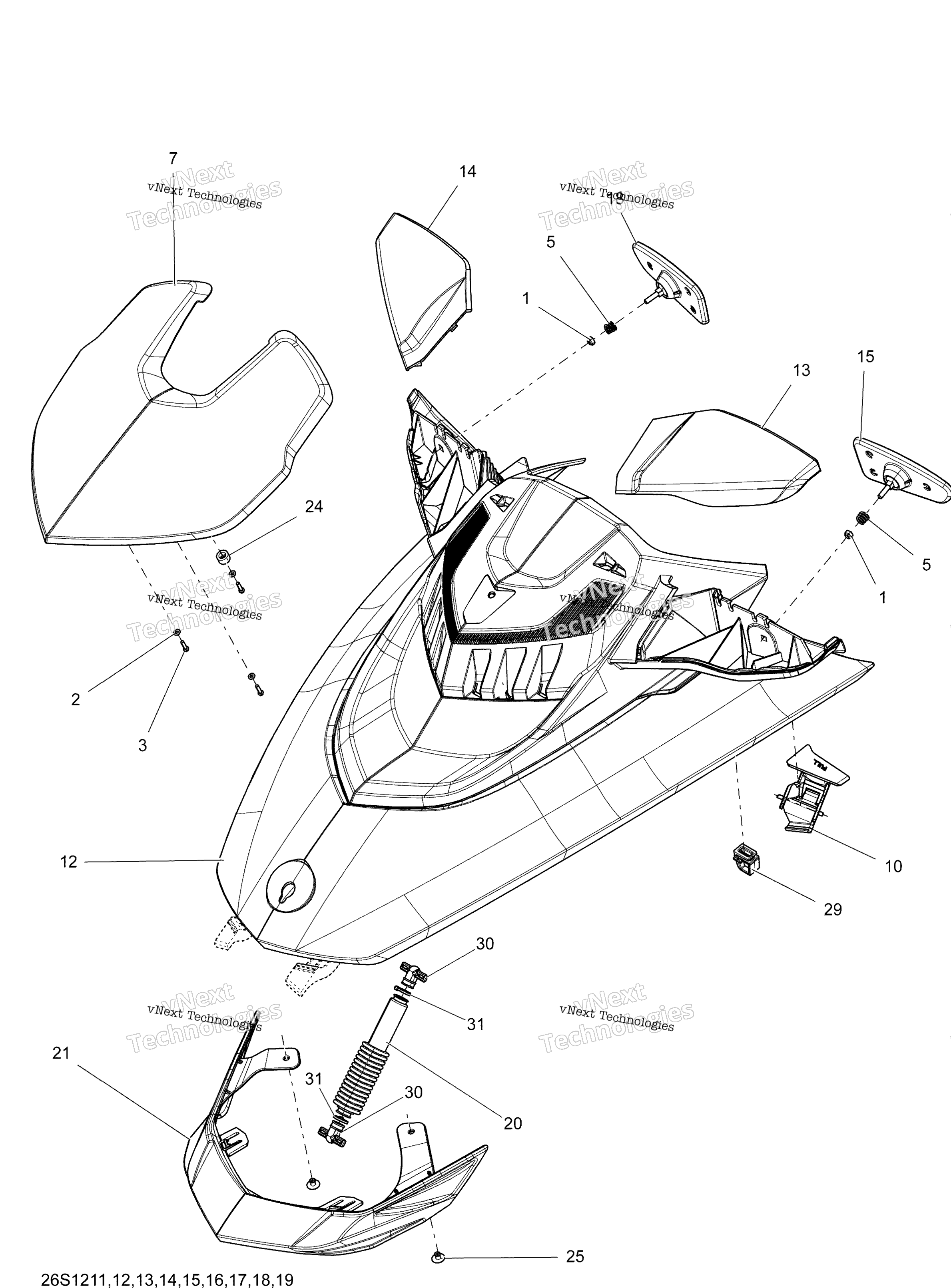
Схема
Детали
FRONT COVER
Номер
Наименование детали
Цена
1
Elastic Stop Nut M6, Brass art. 232561200
По запросу
2
Шайба BRP art. 234041600
По запросу
3
Болт K40 X 16 BRP art. 241141660
от 210 ₽
OEM
210 ₽
Требуется 3 шт.
5
Mirror Spring art. 269500453
По запросу
7
Front Upper Deflector, Black GTX art. 269502209
По запросу
10
LH Latch art. 269501964
По запросу
10
RH Latch art. 269501965
По запросу
12
HOOD ASS’Y, WHITE GTX art. 269501885
По запросу
13
LH MIRROR HOUSING, GOLD GTX art. 269501891
По запросу
14
RH Mirror Housing, Gold GTX art. 269501889
По запросу
15
Зеркало левое Sea Doo art. 269501918
По запросу
18
Зеркало заднего вида правое Sea Doo art. 269501920
По запросу
20
Амортизатор Sea-doo art. 269501664
от 18 720 ₽
OEM
18 720 ₽
Требуется 1 шт.
21
Black Front Cosmetic art. 269501756
По запросу
24
Проставка BRP art. 291001203
По запросу
25
Заклепка BRP art. 293150067
По запросу
29
Демпфер BRP art. 293830135
По запросу
30
Наконечник амортизатора багажника BRP art. 269501717
По запросу
31
Хомут пластиковый BRP art. 293750001
от 160 ₽
OEM
160 ₽
Требуется 2 шт.
Нужна консультация
Мы ответим вам на этот номер
Или укажите свою почту - и мы ответим на нее
Добавлено в корзину
Вы только что добавили в корзину:
Перейти в корзину
Вход в интернет магазин
Войти
Зарегистрироваться
Номер телефона необходим для оформления заказа
Восстановить пароль
Укажите ваш email адрес или логин и мы вышлем ссылку для восстановления пароля.