Упс, к сожалению, версия вашего браузера несовместима с сайтом. Вероятнее всего она устарела или давно не обновлялась.
Попробуйте открыть сайт atvstyle.ru с одного из поддерживаемых браузеров:
Google
Chrome
Safari
Mozilla
Firefox
Microsoft
Edge
Opera
Yandex
Browser

Ваша корзина
Ваша корзина пуста
Перейти в каталог
Личный кабинет +7 903 799 1446 +7 985 444 5566
модель 2002 года
  • Модель GP800
  • Схема OIL TANK для GP800R (GP800AA)

  • Код модели GP800R (GP800AA)
Схема
Детали
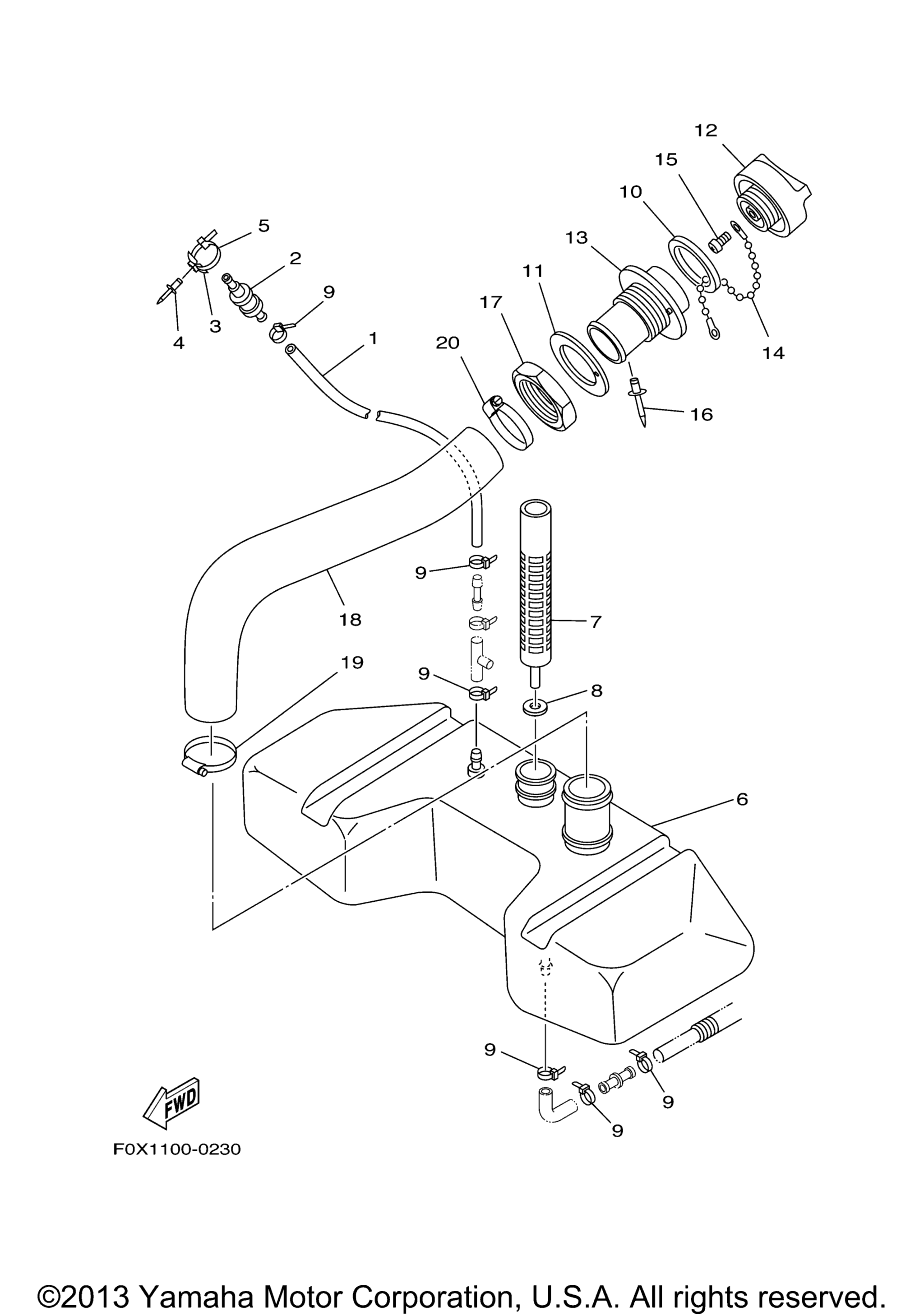
OIL TANK
Номер
Наименование детали
Цена
1
Hose, Air Vent 3 YMUS art. F0X-U7856-00-00
По запросу
2
.Roll Over Valve art. FJ0-67766-00-00
По запросу
3
Clamp Comp art. 90600-91736-00
По запросу
4
Rivet, Blind YMUS art. 90267-489U6-00
По запросу
5
Зажим Yamaha art. 90464-32801-00
По запросу
6
Tank, Oil YMUS art. F0D-U775B-02-00
По запросу
7
Filter art. F0D-6775C-01-00
По запросу
8
Packing art. F0D-6775E-01-00
По запросу
9
Хомут Yamaha art. 90465-10098-00
от 350 ₽
OEM
Хомут Yamaha
art. 90465-10098-00
350 ₽
Требуется 6 шт.
10
Packing, Oil Cap YMUS art. GJ3-U778C-00-00
По запросу
11
Packing, Oil Filler YMUS art. F0X-U778E-01-00
По запросу
12
Cap, Oil Filler YMUS art. F0X-U778B-00-00
По запросу
13
Socket, Oil Filler YMUS art. F0X-U778D-00-00
По запросу
14
Chain Ball YMUS art. EU0-U7835-00-00
По запросу
15
Screw, Tapping art. 97780-40110-00
По запросу
16
Rivet, Blind art. 90267-40935-00
По запросу
17
Nut, Oil Filler YMUS art. F0X-U778H-01-00
По запросу
18
Hose,Oil Filler YMUS art. F0X-U776C-10-00
По запросу
19
Band, Hose 52 YMUS art. 90601-152U3-00
По запросу
20
Clamp YMUS art. 90464-99803-00
По запросу
Нужна консультация
Мы ответим вам на этот номер
Или укажите свою почту - и мы ответим на нее
Добавлено в корзину
Вы только что добавили в корзину:
Перейти в корзину
Вход в интернет магазин
Войти
Зарегистрироваться
Номер телефона необходим для оформления заказа
Восстановить пароль
Укажите ваш email адрес или логин и мы вышлем ссылку для восстановления пароля.