Упс, к сожалению, версия вашего браузера несовместима с сайтом. Вероятнее всего она устарела или давно не обновлялась.
Попробуйте открыть сайт atvstyle.ru с одного из поддерживаемых браузеров:
Google
Chrome
Safari
Mozilla
Firefox
Microsoft
Edge
Opera
Yandex
Browser

Ваша корзина
Ваша корзина пуста
Перейти в каталог
Личный кабинет +7 903 799 1446 +7 985 444 5566
модель 2004 года
  • Модель GP800
  • Схема GENERATOR для GP800R (GP800AC)

  • Код модели GP800R (GP800AC)
Схема
Детали
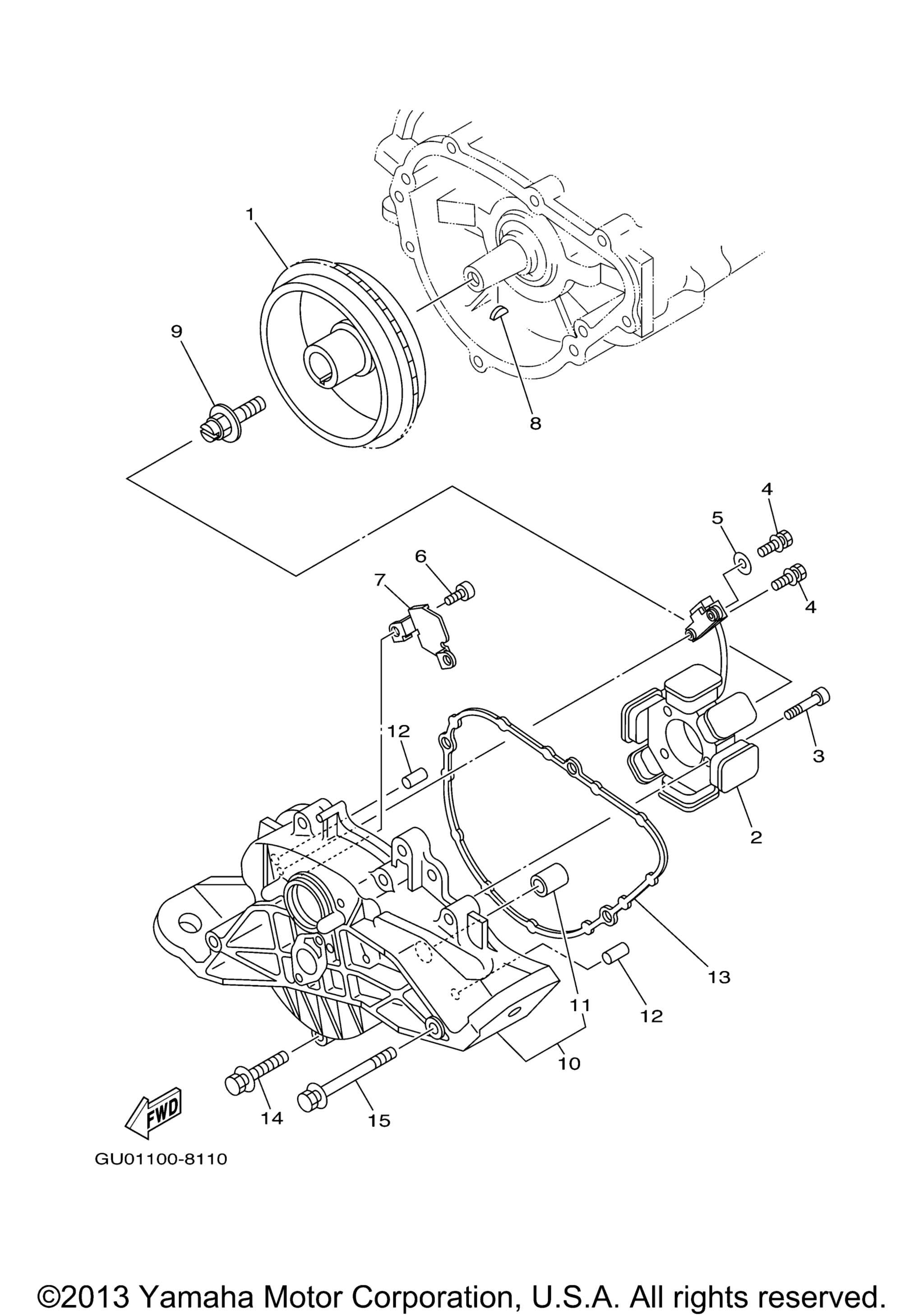
GENERATOR
Номер
Наименование детали
Цена
1
Rotor Assy art. 66E-85550-00-00
По запросу
2
Stator Assy art. 66E-85510-00-00
По запросу
3
Болт Yamaha art. 90110-06138-00
от 310 ₽
4
Bolt, With Washer art. 97513-05514-00
По запросу
5
Washer, Plate art. 90201-05M09-00
По запросу
6
Bolt art. 91318-06014-00
По запросу
7
Clamp art. 66E-81328-00-00
По запросу
8
Шпонка коленвала Yamaha art. 90280-05001-00
от 1 230 ₽
OEM
1 230 ₽
Требуется 1 шт.
9
Bolt art. 90109-10M72-00
По запросу
10
Cover, Flywheel art. 66E-81337-11-8S
По запросу
11
. .Bush, Solid art. 90380-12M29-00
По запросу
12
Штифт Yamaha art. 93608-16M16-00
от 400 ₽
OEM
Штифт Yamaha
art. 93608-16M16-00
400 ₽
Требуется 2 шт.
13
.O-Ring art. 66E-81168-10-00
По запросу
14
Bolt, With Washer art. 90119-08009-00
По запросу
15
Bolt, With Washer art. 90119-08M55-00
По запросу
Нужна консультация
Мы ответим вам на этот номер
Или укажите свою почту - и мы ответим на нее
Добавлено в корзину
Вы только что добавили в корзину:
Перейти в корзину
Вход в интернет магазин
Войти
Зарегистрироваться
Номер телефона необходим для оформления заказа
Восстановить пароль
Укажите ваш email адрес или логин и мы вышлем ссылку для восстановления пароля.