Упс, к сожалению, версия вашего браузера несовместима с сайтом. Вероятнее всего она устарела или давно не обновлялась.
Попробуйте открыть сайт atvstyle.ru с одного из поддерживаемых браузеров:
Google
Chrome
Safari
Mozilla
Firefox
Microsoft
Edge
Opera
Yandex
Browser

Ваша корзина
Ваша корзина пуста
Перейти в каталог
Личный кабинет +7 903 799 1446 +7 985 444 5566
модель 2010 года
  • Модель FX CRUISER SHO
  • Схема Exhaust 1 для FX CRUISER SHO (FX1800AJ)

  • Код модели FX CRUISER SHO (FX1800AJ)
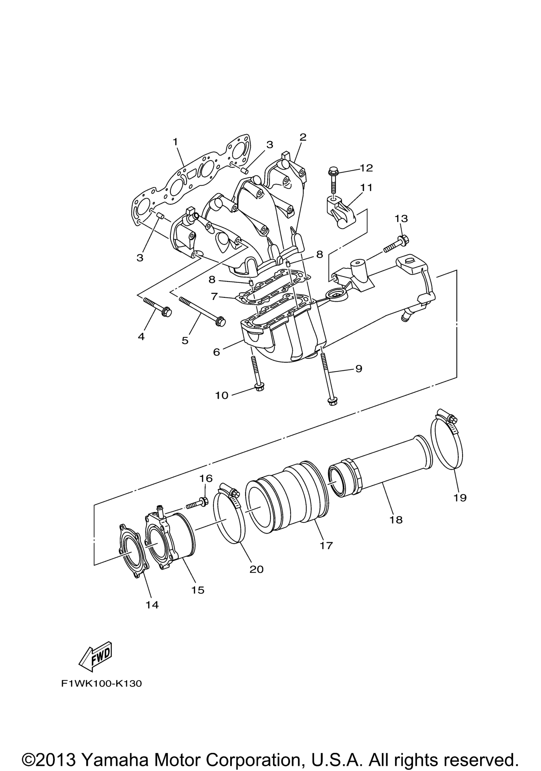
Схема
Детали
Exhaust 1
Номер
Наименование детали
Цена
1
Прокладка коллектора Yamaha art. 6S5-14613-00-00
от 3 980 ₽
2
Muffler 1 art. 6S5-14711-00-94
По запросу
3
Штифт Yamaha art. 93608-16M16-00
от 400 ₽
OEM
Штифт Yamaha
art. 93608-16M16-00
400 ₽
Требуется 2 шт.
4
Bolt, With Washer art. 90119-08034-00
По запросу
5
Bolt, With Washer art. 90119-08097-00
По запросу
6
Muffler 2 art. 6BH-14721-11-00
По запросу
7
Прокладка глушителя Yamaha art. 6S5-14739-00-00
По запросу
8
Pin, Dowel art. 93606-12019-00
По запросу
9
Bolt, With Washer art. 90119-08097-00
По запросу
10
Bolt, With Washer art. 90119-08034-00
По запросу
11
Stay, Muffler 1 art. 6S5-14771-00-00
По запросу
12
Bolt, With Washer art. 90119-08096-00
По запросу
13
Bolt, With Washer art. 90119-10076-00
По запросу
14
. .Gasket, Muffler Damper 2 art. 6BH-14749-00-00
По запросу
15
Pipe, Tail art. 6BH-14784-01-00
По запросу
16
Bolt, Flg.(Small Head) art. 95024-08035-00
По запросу
17
Pipe, Outlet art. 6S5-E4752-01-00
По запросу
18
Pipe 1 art. 6CS-1475A-00-00
По запросу
19
Hose Clamp Assy art. 90450-99M06-00
По запросу
20
Hose Clamp Assy art. 90450-90M10-00
По запросу
Нужна консультация
Мы ответим вам на этот номер
Или укажите свою почту - и мы ответим на нее
Добавлено в корзину
Вы только что добавили в корзину:
Перейти в корзину
Вход в интернет магазин
Войти
Зарегистрироваться
Номер телефона необходим для оформления заказа
Восстановить пароль
Укажите ваш email адрес или логин и мы вышлем ссылку для восстановления пароля.