Упс, к сожалению, версия вашего браузера несовместима с сайтом. Вероятнее всего она устарела или давно не обновлялась.
Попробуйте открыть сайт atvstyle.ru с одного из поддерживаемых браузеров:
Google
Chrome
Safari
Mozilla
Firefox
Microsoft
Edge
Opera
Yandex
Browser

Ваша корзина
Ваша корзина пуста
Перейти в каталог
Личный кабинет +7 903 799 1446 +7 985 444 5566
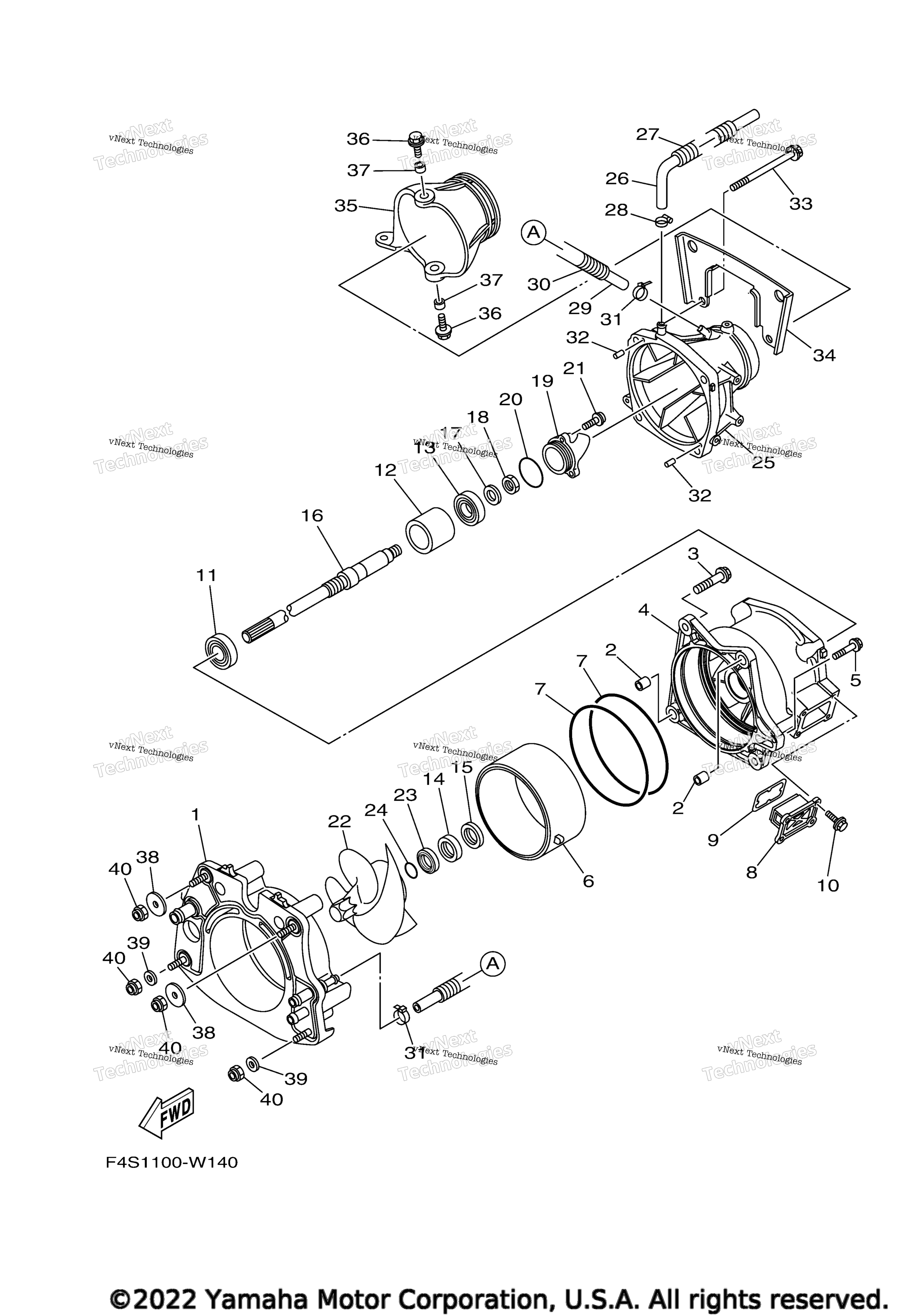
модель 2022 года
  • Модель VX CRUISER
  • Схема Jet Unit 1 для VX CRUISER WITH AUDI (VX1800BX)

  • Код модели VX CRUISER WITH AUDI (VX1800BX)
Схема
Детали
Jet Unit 1
Номер
Наименование детали
Цена
1
Plate, Transom art. 6CS-G5831-20-00
По запросу
2
Pin, Dowel art. 99590-14016-00
По запросу
3
Bolt, With Washer art. 90119-10811-00
По запросу
4
Housing, Impeller art. 6HM-R1312-10-00
По запросу
5
Bolt, With Washer art. 90119-06894-00
По запросу
6
Sleeve, Impeller art. 6HH-R1337-00-00
По запросу
7
.O-Ring art. 93211-65801-00
По запросу
8
Filter art. 6GN-G6882-00-00
По запросу
9
.O-Ring art. 66V-42414-00-00
По запросу
10
Bolt, With Washer art. 90119-06890-00
По запросу
11
Bearing art. 93306-206Y7-00
По запросу
12
Spacer 1 art. 6CS-G5538-00-00
По запросу
13
Bearing art. 93306-355Y0-00
По запросу
14
Сальник Yamaha art. 93102-31009-00
от 7 960 ₽
OEM
Сальник Yamaha
art. 93102-31009-00
7 960 ₽
Требуется 1 шт.
15
Сальник Yamaha art. 93101-31001-00
от 3 500 ₽
OEM
Сальник Yamaha
art. 93101-31001-00
3 500 ₽
Требуется 1 шт.
16
Shaft, Drive art. 6S5-G5511-00-00
По запросу
17
Washer art. 92990-20600-00
По запросу
18
Nut art. 95312-20700-00
По запросу
19
Cap art. 6AN-R1326-00-00
По запросу
20
Кольцо уплотнительное Yamaha art. 93210-54010-00
от 350 ₽
OEM
350 ₽
Требуется 1 шт.
21
Bolt, Hexagon Socket Head art. 90110-06823-00
По запросу
22
Impeller art. 6JP-R1321-00-00
По запросу
23
Spacer art. 6BH-R1348-00-00
По запросу
24
Кольцо резиновое Yamaha art. 93210-30611-00
от 1 420 ₽
OEM
1 420 ₽
Требуется 1 шт.
25
Nozzle art. 6EX-R1318-01-00
По запросу
26
Hose 1 art. 6CN-U72M2-00-00
По запросу
27
Hose (L175) art. 90446-24M46-00
По запросу
28
Band, Hose 18 art. 90601-118UF-00
По запросу
29
Hose (L355) art. 90445-14807-00
По запросу
30
Hose (L320) art. 90446-20MF5-00
По запросу
31
Хомут Yamaha art. 90465-10098-00
от 350 ₽
OEM
Хомут Yamaha
art. 90465-10098-00
350 ₽
Требуется 2 шт.
32
Pin, Dowel art. 93606-12019-00
По запросу
33
Bolt, With Washer art. 90119-10811-00
По запросу
34
Bracket art. 6EY-R1959-00-00
По запросу
35
Nozzle, Deflector art. 6EX-R1313-00-00
По запросу
36
Bolt, With Washer art. 90119-08841-00
По запросу
37
Collar art. 90387-08M06-00
По запросу
38
Washer art. F1S-U725E-01-00
По запросу
39
Washer, Plate art. 90201-10801-00
По запросу
40
Nut, Nylon art. 9572R-10300-00
По запросу
Нужна консультация
Мы ответим вам на этот номер
Или укажите свою почту - и мы ответим на нее
Добавлено в корзину
Вы только что добавили в корзину:
Перейти в корзину
Вход в интернет магазин
Войти
Зарегистрироваться
Номер телефона необходим для оформления заказа
Восстановить пароль
Укажите ваш email адрес или логин и мы вышлем ссылку для восстановления пароля.