Упс, к сожалению, версия вашего браузера несовместима с сайтом. Вероятнее всего она устарела или давно не обновлялась.
Попробуйте открыть сайт atvstyle.ru с одного из поддерживаемых браузеров:
Google
Chrome
Safari
Mozilla
Firefox
Microsoft
Edge
Opera
Yandex
Browser

Ваша корзина
Ваша корзина пуста
Перейти в каталог
Личный кабинет +7 903 799 1446 +7 985 444 5566
модель 2020 года
  • Модель TW 200
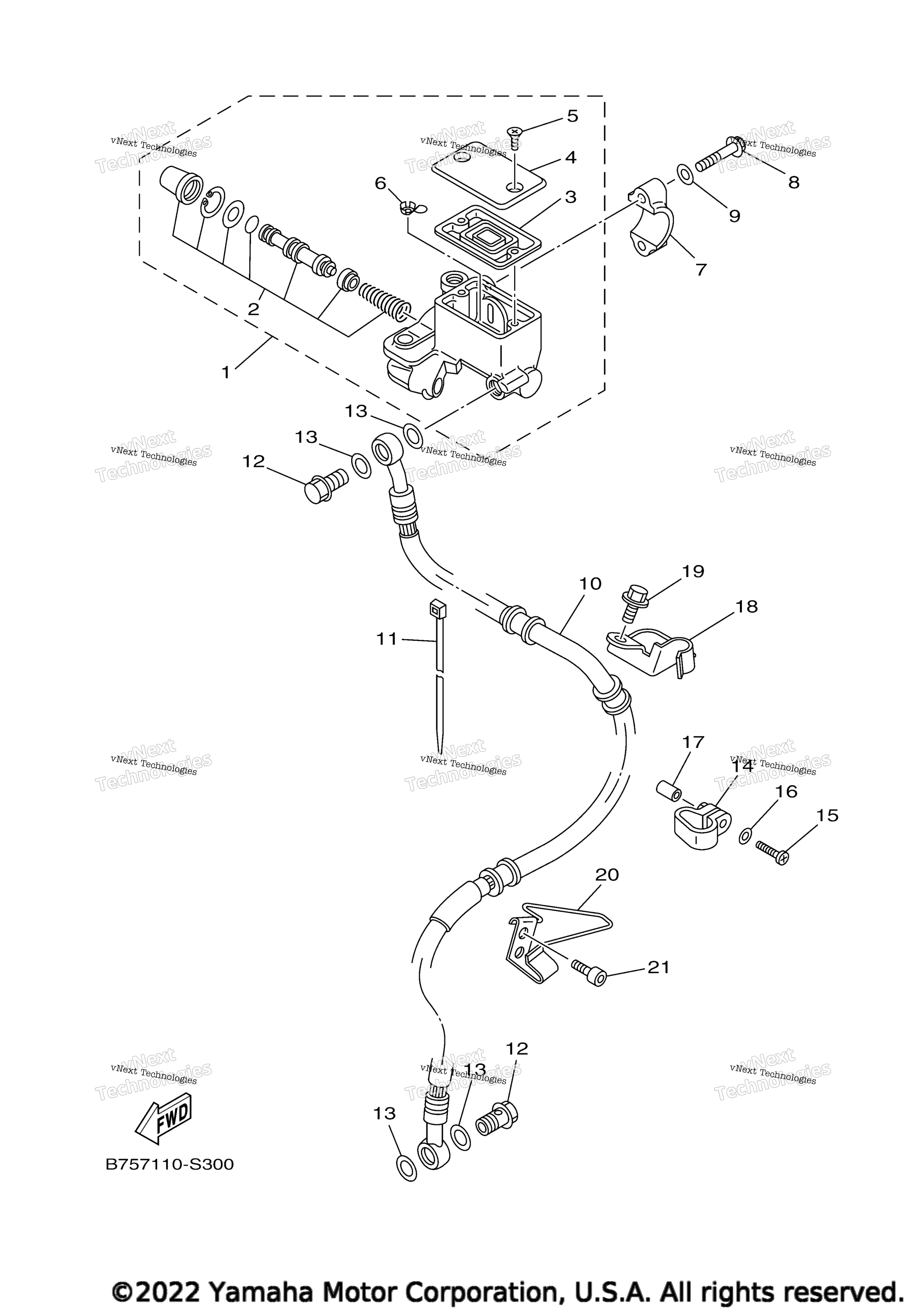
  • Схема FRONT MASTER CYLINDER для TW200 (TW200L1C) CA

  • Код модели TW200 (TW200L1C) CA
Схема
Детали
FRONT MASTER CYLINDER
Номер
Наименование детали
Цена
1
Master Cylinder Sub Assy art. 5RS-25870-03-00
По запросу
2
. .Cylinder Kit, Master art. 5RS-25807-03-00
По запросу
3
. .Diaphragm, Reservoir art. 5RB-25854-00-00
По запросу
4
. .Cap, Reservoir art. 4GY-25852-01-00
По запросу
5
Винт плоская головка Yamaha art. 98707-04012-00
от 350 ₽
OEM
350 ₽
Требуется 2 шт.
6
. .Separator art. 3RW-25889-00-00
По запросу
7
Bracket, Master Cylinder art. 56A-25867-00-00
По запросу
8
Bolt art. 97017-06025-00
По запросу
9
Шайба Yamaha art. 92907-06600-00
от 210 ₽
OEM
Шайба Yamaha
art. 92907-06600-00
210 ₽
Требуется 2 шт.
10
Hose, Brake 1 art. 5RS-25872-00-00
По запросу
11
Band art. 1UA-82591-00-00
По запросу
12
Болт, штуцер art. 90401-10159-00
По запросу
13
Шайба болта тормозной системы Yamaha art. 90201-10118-00
от 450 ₽
OEM
450 ₽
Требуется 4 шт.
14
Clamp art. 3TB-23467-01-00
По запросу
15
Screw, Pan Head art. 98507-04018-00
По запросу
16
Шайба металлическая art. 92907-04600-00
По запросу
17
Hose (L10) art. 90445-05N13-00
По запросу
18
Holder, Brake Hose art. 5RS-25886-00-00
По запросу
19
Болт с фланцем art. 95817-06012-00
По запросу
20
Holder, Brake Hose 2 art. 34X-25876-00-00
По запросу
21
Болт Yamaha 91317-06065-00 art. 91317-06010-00
По запросу
Нужна консультация
Мы ответим вам на этот номер
Или укажите свою почту - и мы ответим на нее
Добавлено в корзину
Вы только что добавили в корзину:
Перейти в корзину
Вход в интернет магазин
Войти
Зарегистрироваться
Номер телефона необходим для оформления заказа
Восстановить пароль
Укажите ваш email адрес или логин и мы вышлем ссылку для восстановления пароля.