Упс, к сожалению, версия вашего браузера несовместима с сайтом. Вероятнее всего она устарела или давно не обновлялась.
Попробуйте открыть сайт atvstyle.ru с одного из поддерживаемых браузеров:
Google
Chrome
Safari
Mozilla
Firefox
Microsoft
Edge
Opera
Yandex
Browser

Ваша корзина
Ваша корзина пуста
Перейти в каталог
Личный кабинет +7 903 799 1446 +7 985 444 5566
модель 2003 года
  • Модель GP1300R
  • Схема Gunwale Mat для GP1300R (GP1300CB) CA

  • Код модели GP1300R (GP1300CB) CA
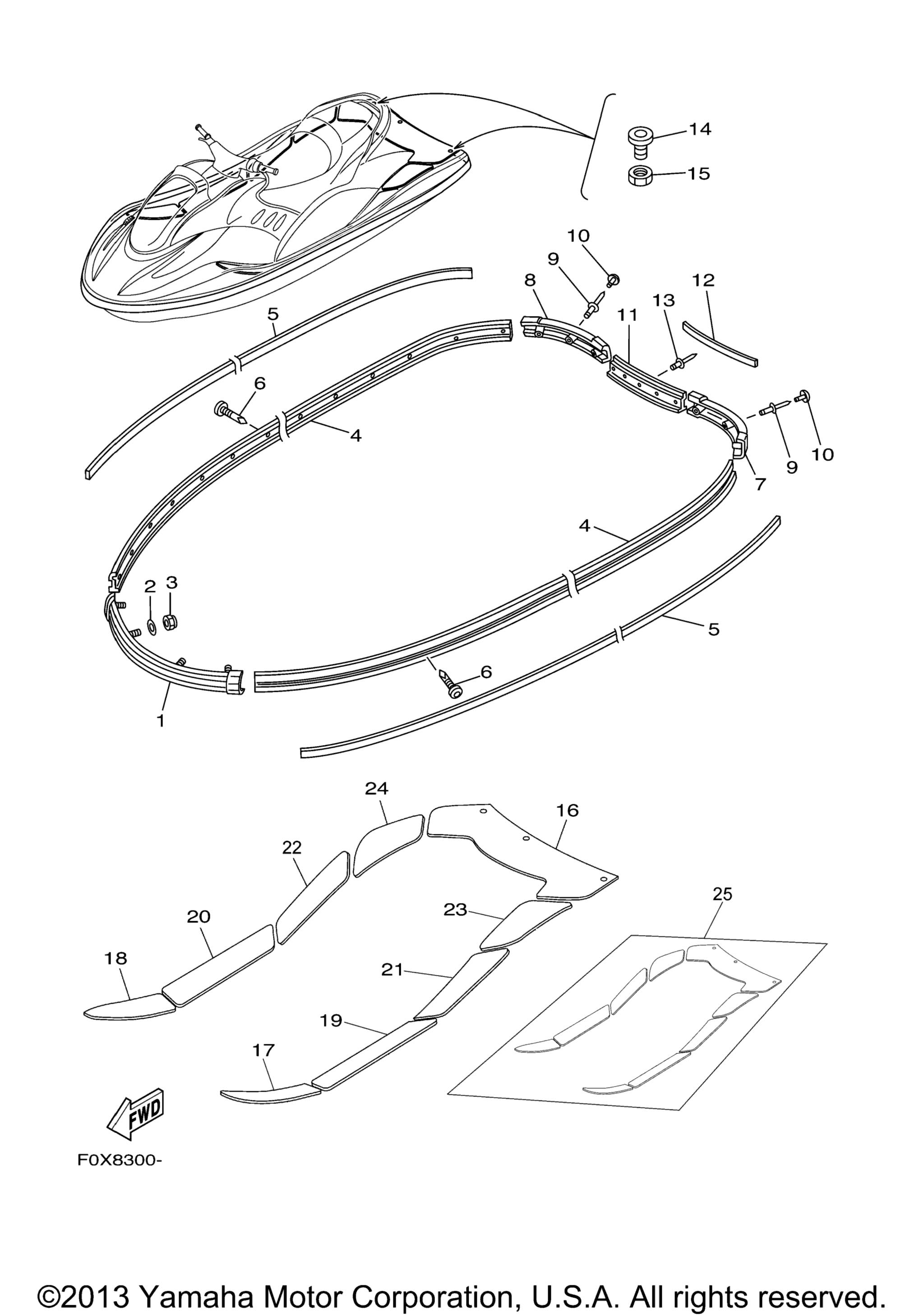
Схема
Детали
Gunwale Mat
Номер
Наименование детали
Цена
1
Накладка носовая Yamaha art. GP7-U2501-20-00
от 16 110 ₽
OEM
16 110 ₽
Требуется 1 шт.
2
Washer YMUS art. 9299R-06200-00
По запросу
3
Nut, Nylon YMUS art. 9572R-06300-00
По запросу
4
Gunwale, Side YB, YMUS art. F0X-U2512-00-00
По запросу
5
Inner, Gunwale YB, YMUS art. F0X-U2519-02-00
По запросу
6
Screw,Tapping YMUS art. 90169-059U1-00
По запросу
7
Gunwale, Stern 1 YB, YMUS art. F0X-U251D-00-00
По запросу
8
Gunwale, Stern 2 YB, YMUS art. F0X-U251E-00-00
По запросу
9
Rivet, Blind YMUS art. 90267-489US-00
По запросу
10
Cap, Head DBGS8, YMUS art. GJ3-U352E-50-00
По запросу
11
Cover, Gunwale 1 YB, YMUS art. F0X-U252C-00-00
По запросу
12
Cover, Gunwale 2 YB, YMUS art. F0X-U252D-01-00
По запросу
13
Rivet, Blind YMUS art. 90267-489US-00
По запросу
14
Rope Hole art. FN8-61651-01-00
По запросу
15
Nut art. EU0-61652-00-00
По запросу
16
Mat, Upper BL, YMUS art. F0X-U3581-04-00
По запросу
17
Mat, Step 1 BL, YMUS art. F0X-U351H-00-00
По запросу
18
Mat, Step 2 BL, YMUS art. F0X-U351J-00-00
По запросу
19
Mat, Step 3 BL, YMUS art. F0X-U351K-04-00
По запросу
20
Mat, Step 4 BL, YMUS art. F0X-U351M-04-00
По запросу
21
Mat, Step 5 BL, YMUS art. F0X-U351N-00-00
По запросу
22
Mat, Step 6 BL, YMUS art. F0X-U351P-00-00
По запросу
23
Mat, Step 7 BL, YMUS art. F0X-U351R-03-00
По запросу
24
Mat, Step 8 BL, YMUS art. F0X-U351S-03-00
По запросу
25
Mat Kit Black INCLUDES ALL MATS art. F0X-MATKT-00-BK
По запросу
Нужна консультация
Мы ответим вам на этот номер
Или укажите свою почту - и мы ответим на нее
Добавлено в корзину
Вы только что добавили в корзину:
Перейти в корзину
Вход в интернет магазин
Войти
Зарегистрироваться
Номер телефона необходим для оформления заказа
Восстановить пароль
Укажите ваш email адрес или логин и мы вышлем ссылку для восстановления пароля.