Упс, к сожалению, версия вашего браузера несовместима с сайтом. Вероятнее всего она устарела или давно не обновлялась.
Попробуйте открыть сайт atvstyle.ru с одного из поддерживаемых браузеров:
Google
Chrome
Safari
Mozilla
Firefox
Microsoft
Edge
Opera
Yandex
Browser

Ваша корзина
Ваша корзина пуста
Перейти в каталог
Личный кабинет +7 903 799 1446 +7 985 444 5566
модель 2005 года
  • Модель XLT1200
  • Схема CRANKSHAFT PISTON для WaveRunner XLT1200 (XA1200AD)

  • Код модели WaveRunner XLT1200 (XA1200AD)
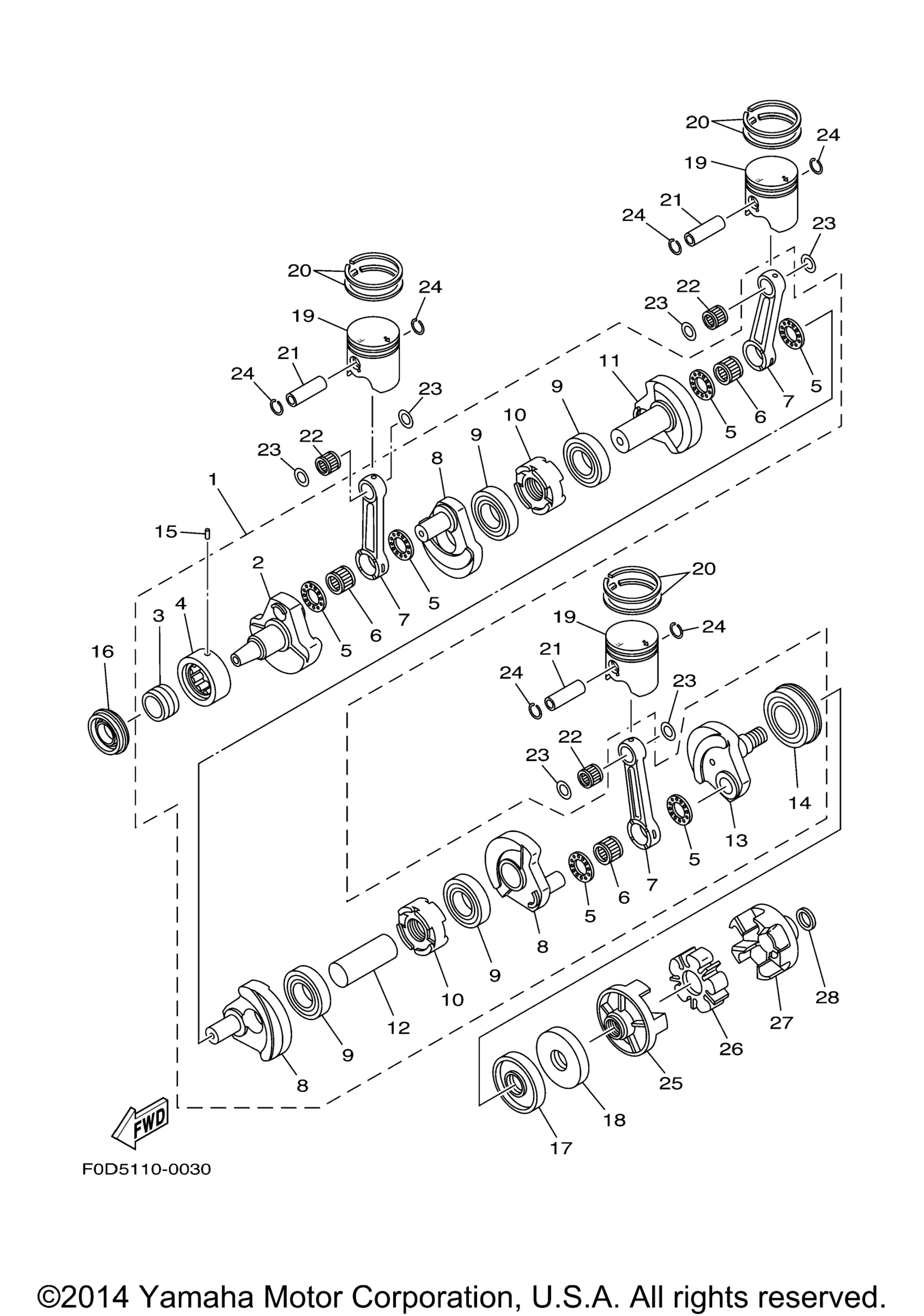
Схема
Детали
CRANKSHAFT PISTON
Номер
Наименование детали
Цена
1
Crankshaft Assy art. 66V-11400-00-00
По запросу
2
. Crank 1 art. 66E-11412-00-00
По запросу
3
Втулка металлическая Yamaha art. 90387-35M01-00
от 7 530 ₽
OEM
7 530 ₽
Требуется 1 шт.
4
. Bearing art. 93390-000U6-00
По запросу
5
. Washer, Crank Pin art. 66E-11685-00-00
По запросу
6
. Bearing art. 93310-627U6-00
По запросу
7
. Rod, Connecting art. 66E-11651-00-00
от 19 800 ₽
Аналог
19 800 ₽
Требуется 3 шт.
8
. Crank 2 art. 66E-11422-00-00
По запросу
9
. Bearing art. 93306-208U1-00
По запросу
10
. Seal, Labyrinth 1 art. 66E-11515-00-00
По запросу
11
. Crank 5 art. 66V-11452-00-00
По запросу
12
. Crank 3 art. 66E-11431-00-00
По запросу
13
. Crank 4 art. 66E-11442-00-00
По запросу
14
Подшипник коленвала Yamaha art. 93306-308U1-00
По запросу
15
Штифт Yamaha art. 93603-10049-00
от 400 ₽
OEM
Штифт Yamaha
art. 93603-10049-00
400 ₽
Требуется 1 шт.
16
Сальник коленвала Yamaha art. 93103-35011-00
По запросу
17
Сальник коленвала Yamaha art. 93101-34001-00
По запросу
18
Сальник коленвала Yamaha art. 93101-34002-00
По запросу
19
Piston (Std) UR ORANGE art. 66V-11631-00-B0
По запросу
19
Piston (Std) UR PURPLE art. 66V-11631-00-D0
По запросу
19
Piston (Std) UR GREEN art. 66V-11631-00-C0
По запросу
19
Поршень стандарт Yamaha art. 66V-11631-00-A0
от 21 780 ₽
OEM
21 780 ₽
Требуется 3 шт.
20
Piston Ring Set (Std) art. 66V-11603-00-00
По запросу
21
Поршневой палец Yamaha art. 60T-11633-00-00
от 3 940 ₽
OEM
3 940 ₽
Требуется 2 шт.
22
Подшипник Yamaha art. 93310-422U2-00
от 3 500 ₽
OEM
Подшипник Yamaha
art. 93310-422U2-00
3 500 ₽
Требуется 3 шт.
23
Кольцо Yamaha art. 90201-22M04-00
от 750 ₽
OEM
Кольцо Yamaha
art. 90201-22M04-00
750 ₽
Требуется 6 шт.
24
Стопорное кольцо Yamaha art. 66E-11634-00-00
от 210 ₽
OEM
210 ₽
Требуется 6 шт.
25
Flange, Coupling art. 66E-45813-10-94
По запросу
26
Rubber Shaft Coupling art. 66E-4581J-00-00
По запросу
27
Flange, Coupling 1 art. 68N-45593-00-94
По запросу
28
Washer, Plate YMUS art. 90201-24800-00
По запросу
Нужна консультация
Мы ответим вам на этот номер
Или укажите свою почту - и мы ответим на нее
Добавлено в корзину
Вы только что добавили в корзину:
Перейти в корзину
Вход в интернет магазин
Войти
Зарегистрироваться
Номер телефона необходим для оформления заказа
Восстановить пароль
Укажите ваш email адрес или логин и мы вышлем ссылку для восстановления пароля.