Упс, к сожалению, версия вашего браузера несовместима с сайтом. Вероятнее всего она устарела или давно не обновлялась.
Попробуйте открыть сайт atvstyle.ru с одного из поддерживаемых браузеров:
Google
Chrome
Safari
Mozilla
Firefox
Microsoft
Edge
Opera
Yandex
Browser

Ваша корзина
Ваша корзина пуста
Перейти в каталог
Личный кабинет +7 903 799 1446 +7 985 444 5566
модель 2006 года
  • Модель FX
  • Схема Jet Unit 2 для WaveRunner FX (FX1000E)

  • Код модели WaveRunner FX (FX1000E)
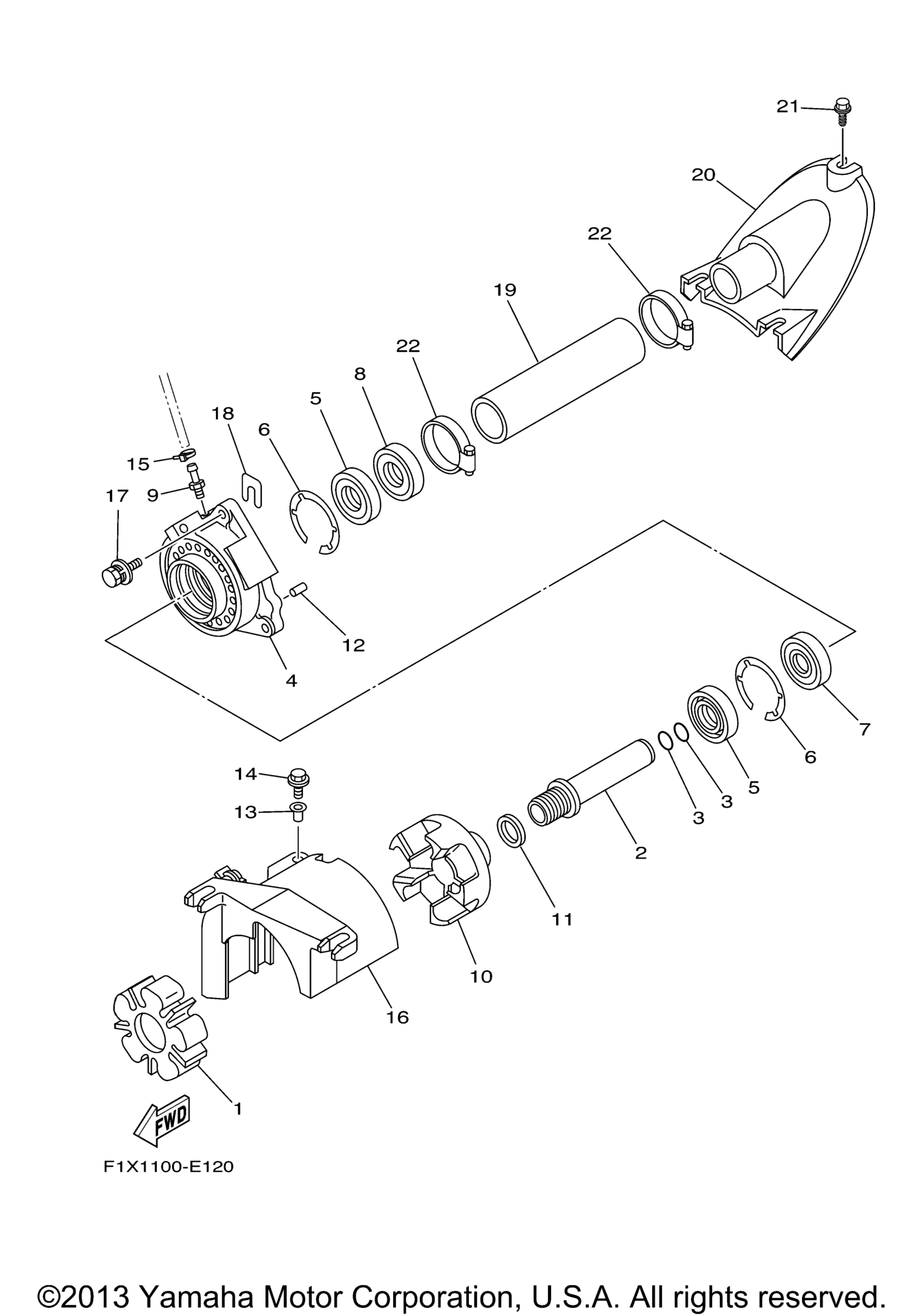
Схема
Детали
Jet Unit 2
Номер
Наименование детали
Цена
1
Rubber Shaft Coupling art. 6D3-4581J-01-00
По запросу
2
Shaft, Coupler art. 60E-R1323-01-00
По запросу
3
.O-Ring art. 93210-19001-00
По запросу
4
Housing, Bearing art. 61X-G5332-00-00
По запросу
5
.Oil Seal art. 93101-25M55-00
По запросу
6
Circlip art. 93430-47M04-00
По запросу
7
Bearing art. 93306-205U6-00
По запросу
8
Сальник Yamaha art. 93102-25009-00
от 2 780 ₽
OEM
Сальник Yamaha
art. 93102-25009-00
2 780 ₽
Требуется 1 шт.
9
Nipple, Hose art. 61L-45378-00-00
По запросу
10
Flange, Coupling art. 66E-45813-10-94
По запросу
11
Washer, Plate art. 90201-27800-00
По запросу
12
.Pin, Dowel art. 93606-12019-00
По запросу
13
Collar art. 90387-06M60-00
По запросу
14
Bolt, With Washer art. 90119-06892-00
По запросу
15
Хомут Yamaha art. 90465-10098-00
от 350 ₽
OEM
Хомут Yamaha
art. 90465-10098-00
350 ₽
Требуется 1 шт.
16
Cover art. 60E-R1381-01-00
По запросу
17
Bolt, With Washer art. 90119-08907-00
По запросу
18
Shim (T=0.5) art. GD0-U7249-00-05
По запросу
19
Pipe, 1 art. F0D-U883B-01-00
По запросу
20
Joint, Pipe art. F1B-U883E-00-00
По запросу
21
Screw art. 90149-069UA-00
По запросу
22
Band, Hose 52 art. 90601-152U3-00
По запросу
Нужна консультация
Мы ответим вам на этот номер
Или укажите свою почту - и мы ответим на нее
Добавлено в корзину
Вы только что добавили в корзину:
Перейти в корзину
Вход в интернет магазин
Войти
Зарегистрироваться
Номер телефона необходим для оформления заказа
Восстановить пароль
Укажите ваш email адрес или логин и мы вышлем ссылку для восстановления пароля.