Упс, к сожалению, версия вашего браузера несовместима с сайтом. Вероятнее всего она устарела или давно не обновлялась.
Попробуйте открыть сайт atvstyle.ru с одного из поддерживаемых браузеров:
Google
Chrome
Safari
Mozilla
Firefox
Microsoft
Edge
Opera
Yandex
Browser

Ваша корзина
Ваша корзина пуста
Перейти в каталог
Личный кабинет +7 903 799 1446 +7 985 444 5566
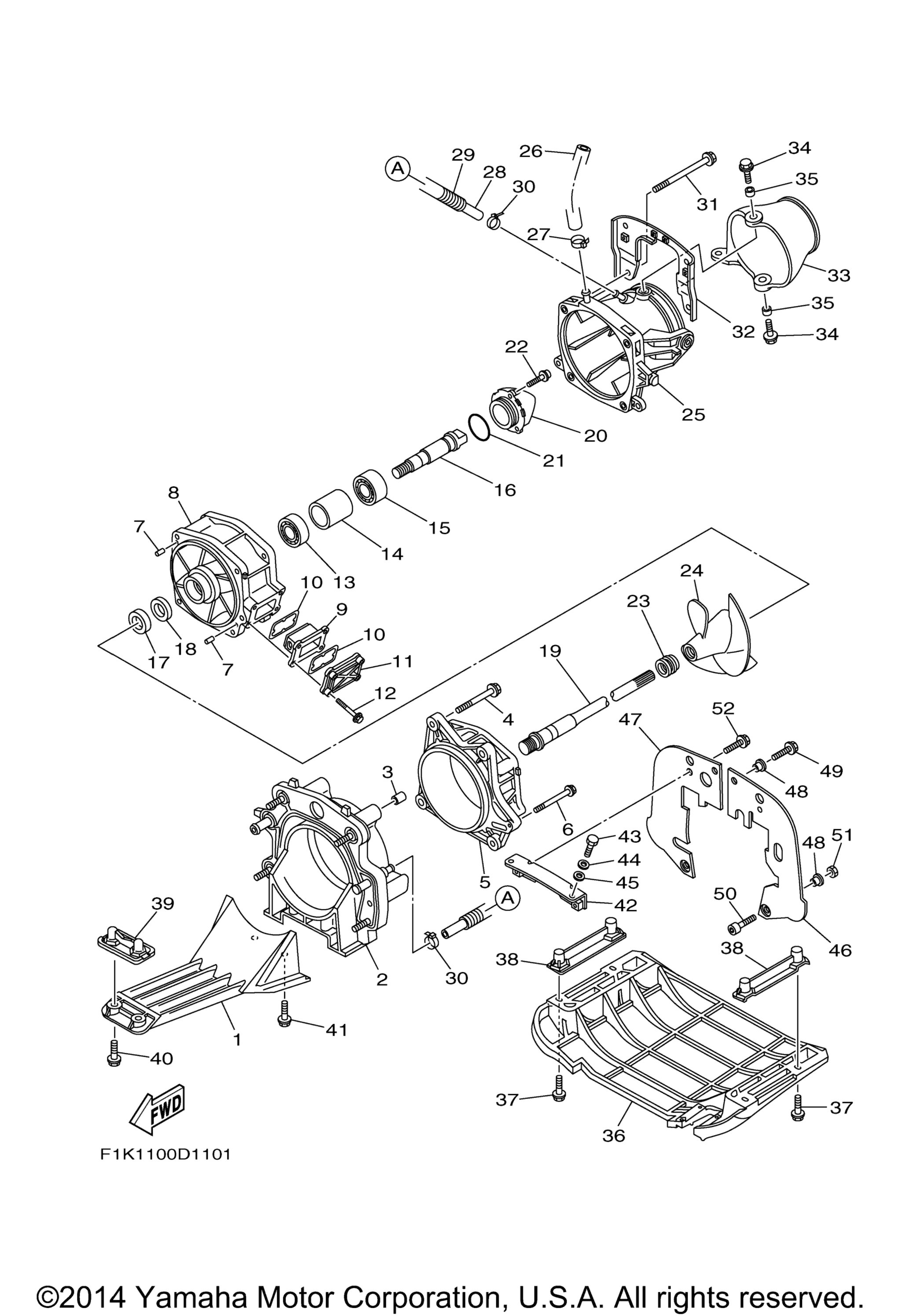
модель 2007 года
  • Модель VX SPORT
  • Схема Jet Unit 1 для WaveRunner VX Sport (VX1100CF)

  • Код модели WaveRunner VX Sport (VX1100CF)
Схема
Детали
Jet Unit 1
Номер
Наименование детали
Цена
1
Screen, Intake art. 6D3-R1333-01-00
По запросу
2
Plate, Transom art. 6AN-G5831-10-00
По запросу
3
Pin, Dowel art. 99590-14016-00
По запросу
4
Bolt, With Washer art. 90119-10811-00
По запросу
5
Корпус импеллера Yamaha art. 6CR-R1312-00-00
По запросу
6
Bolt, With Washer art. 90119-06894-00
По запросу
7
Pin, Dowel art. 93606-12019-00
По запросу
8
Duct, Impeller art. 99999-04430-00
По запросу
9
Filter art. 66V-46882-00-00
По запросу
10
.O-Ring art. 66V-42414-00-00
По запросу
11
Cover, Water Inlet 1 art. 66V-45214-00-00
По запросу
12
Bolt, With Washer art. 90119-06898-00
По запросу
13
Bearing art. 93306-27211-00
По запросу
14
Spacer 1 art. 65V-45538-00-00
По запросу
15
Подшипник Yamaha art. 93306-205U1-00
от 3 940 ₽
OEM
Подшипник Yamaha
art. 93306-205U1-00
3 940 ₽
Требуется 1 шт.
Аналог
8 640 ₽
Требуется 1 шт.
Подписаться
16
Shaft, Drive 4 art. 6D3-45514-00-00
По запросу
17
.Oil Seal art. 93101-21001-00
По запросу
18
.Oil Seal art. 93101-21002-00
По запросу
19
Shaft, Drive art. 6D3-45511-00-00
По запросу
20
Cap art. 6B6-51326-10-00
По запросу
21
.O-Ring art. 93210-464A3-00
По запросу
22
Bolt, Hexagon Socket Head art. 90110-06823-00
По запросу
23
Cap, Impeller art. 6D3-R1319-00-00
По запросу
24
Impeller art. 6D3-R1321-03-00
По запросу
25
Nozzle art. 6D3-R1318-01-00
По запросу
26
Hose (L260) art. 90445-16006-00
По запросу
27
Band, Hose 18 art. 90601-118UF-00
По запросу
28
Hose (L355) art. 90445-14008-00
По запросу
29
Hose (L320) art. 90446-20MF5-00
По запросу
30
Хомут Yamaha art. 90465-10098-00
от 350 ₽
OEM
Хомут Yamaha
art. 90465-10098-00
350 ₽
Требуется 2 шт.
31
Bolt, With Washer art. 90119-10807-00
По запросу
32
Bracket 1 art. 6D3-R1341-00-00
По запросу
33
Nozzle, Deflector art. 6D3-R1313-00-00
По запросу
34
Bolt, With Washer art. 90119-08841-00
По запросу
35
Collar art. 90387-08M06-00
По запросу
36
Plate 2 art. F1K-U273B-06-KT
По запросу
37
Bolt, With Washer art. 90119-08829-00
По запросу
38
Bracket 2 art. F1G-U8572-02-00
По запросу
39
Bracket, 3 art. F1K-U8577-01-00
По запросу
40
Bolt, With Washer art. 90119-06896-00
По запросу
41
Bolt, With Washer art. 90119-10809-00
По запросу
42
Bracket art. F1K-U7557-01-00
По запросу
43
Bolt art. 90109-08043-00
По запросу
44
Washer, Plain art. 92990-12200-00
По запросу
45
Gasket art. 90430-12002-00
По запросу
46
Plate, Rubber 1 art. F1K-U757E-01-00
По запросу
47
Plate, Rubber 2 art. F1K-U757F-01-00
По запросу
48
Collar art. 90387-06080-00
По запросу
49
Bolt, With Washer art. 90119-06827-00
По запросу
50
Bolt art. 90101-069U0-00
По запросу
51
Nut, Nylon art. 9572R-06300-00
По запросу
52
Bolt, With Washer art. 90119-08800-00
По запросу
Нужна консультация
Мы ответим вам на этот номер
Или укажите свою почту - и мы ответим на нее
Добавлено в корзину
Вы только что добавили в корзину:
Перейти в корзину
Вход в интернет магазин
Войти
Зарегистрироваться
Номер телефона необходим для оформления заказа
Восстановить пароль
Укажите ваш email адрес или логин и мы вышлем ссылку для восстановления пароля.