Упс, к сожалению, версия вашего браузера несовместима с сайтом. Вероятнее всего она устарела или давно не обновлялась.
Попробуйте открыть сайт atvstyle.ru с одного из поддерживаемых браузеров:
Google
Chrome
Safari
Mozilla
Firefox
Microsoft
Edge
Opera
Yandex
Browser

Ваша корзина
Ваша корзина пуста
Перейти в каталог
Личный кабинет +7 903 799 1446 +7 985 444 5566
модель 2008 года
  • Модель GP1300R
  • Схема STARTING MOTOR для GP1300-G

  • Код модели GP1300-G
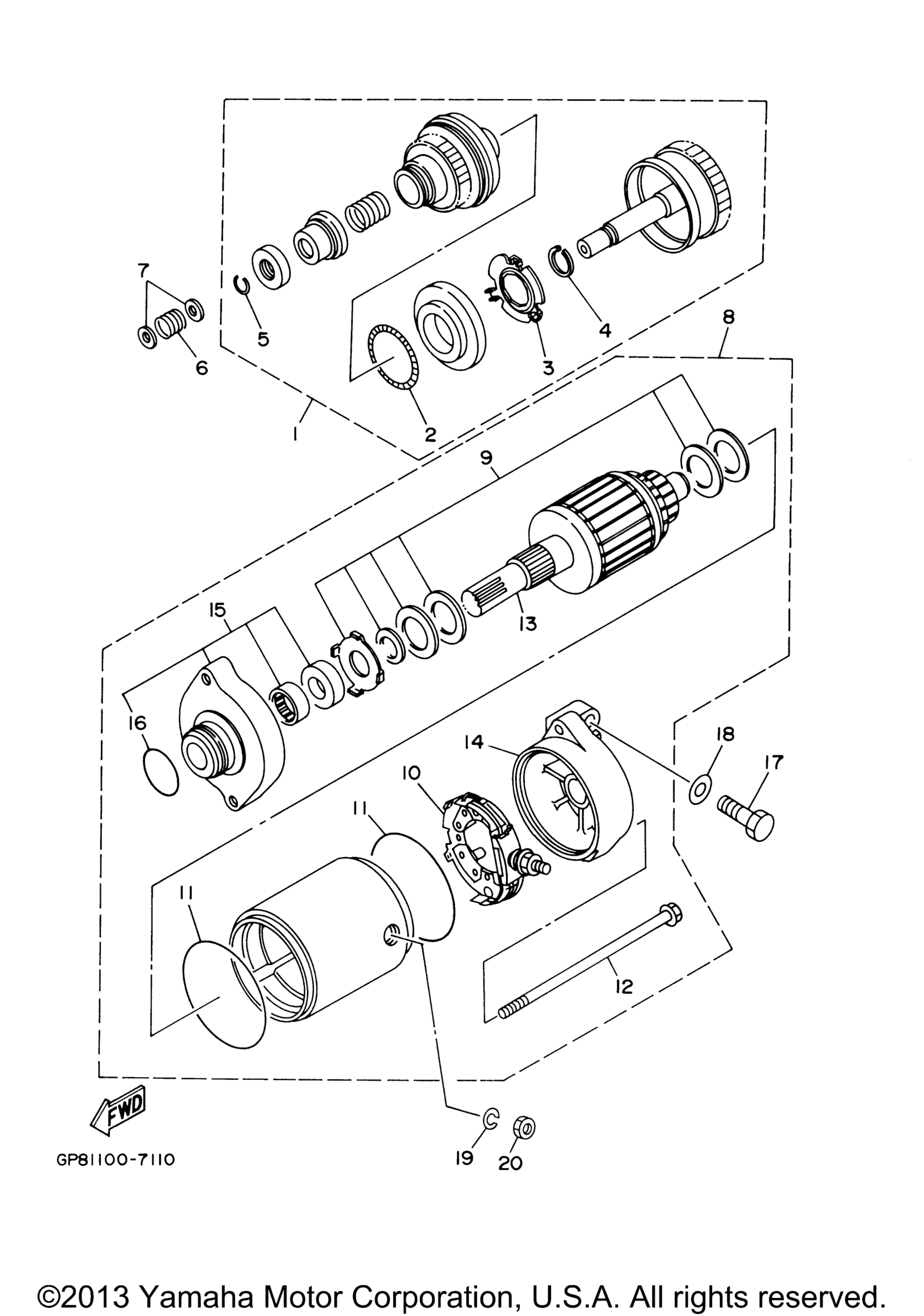
Схема
Детали
STARTING MOTOR
Номер
Наименование детали
Цена
1
Бендикс стартера Yamaha art. 6M6-8183E-01-00
По запросу
2
. Weight Spring art. 6M6-81866-00-00
По запросу
3
. Weight Holder art. 6M6-81865-00-00
По запросу
4
. Circlip art. 93440-25M08-00
По запросу
5
. Circlip art. 93450-18M06-00
По запросу
6
Spring, Compression art. 90501-14M73-00
По запросу
7
Шайба Yamaha art. 92990-06600-00
от 400 ₽
OEM
Шайба Yamaha
art. 92990-06600-00
400 ₽
Требуется 2 шт.
8
Starting Motor Assy art. 63M-81800-00-00
По запросу
9
. .Washer Kit art. 3AJ-81809-00-00
По запросу
10
Щеточный узел стартера Yamaha art. 6M6-81840-10-00
По запросу
11
. Gasket art. 35C-81844-00-00
По запросу
12
. .Bolt art. 6M6-81826-00-00
По запросу
13
. .Armature Assy art. 6M6-81850-00-00
По запросу
14
. Rear Bracket Assy art. 63M-81830-00-00
По запросу
15
. .Front Bracket Assy art. 6M6-81830-00-00
По запросу
16
. O-Ring art. 93210-24235-00
По запросу
17
Bolt art. 97013-08025-00
По запросу
18
Шайба Yamaha art. 92990-08600-00
от 350 ₽
OEM
Шайба Yamaha
art. 92990-08600-00
350 ₽
Требуется 2 шт.
19
Шайба Yamaha art. 92995-06100-00
от 450 ₽
OEM
Шайба Yamaha
art. 92995-06100-00
450 ₽
Требуется 1 шт.
20
Nut art. 95380-06700-00
По запросу
Нужна консультация
Мы ответим вам на этот номер
Или укажите свою почту - и мы ответим на нее
Добавлено в корзину
Вы только что добавили в корзину:
Перейти в корзину
Вход в интернет магазин
Войти
Зарегистрироваться
Номер телефона необходим для оформления заказа
Восстановить пароль
Укажите ваш email адрес или логин и мы вышлем ссылку для восстановления пароля.