Упс, к сожалению, версия вашего браузера несовместима с сайтом. Вероятнее всего она устарела или давно не обновлялась.
Попробуйте открыть сайт atvstyle.ru с одного из поддерживаемых браузеров:
Google
Chrome
Safari
Mozilla
Firefox
Microsoft
Edge
Opera
Yandex
Browser

Ваша корзина
Ваша корзина пуста
Перейти в каталог
Личный кабинет +7 903 799 1446 +7 985 444 5566
модель 2014 года
  • Модель FX CRUISER SHO
  • Схема ELECTRICAL 2 для FX CRUISER SHO (FA1800AN)

  • Код модели FX CRUISER SHO (FA1800AN)
Схема
Детали
ELECTRICAL 2
Номер
Наименование детали
Цена
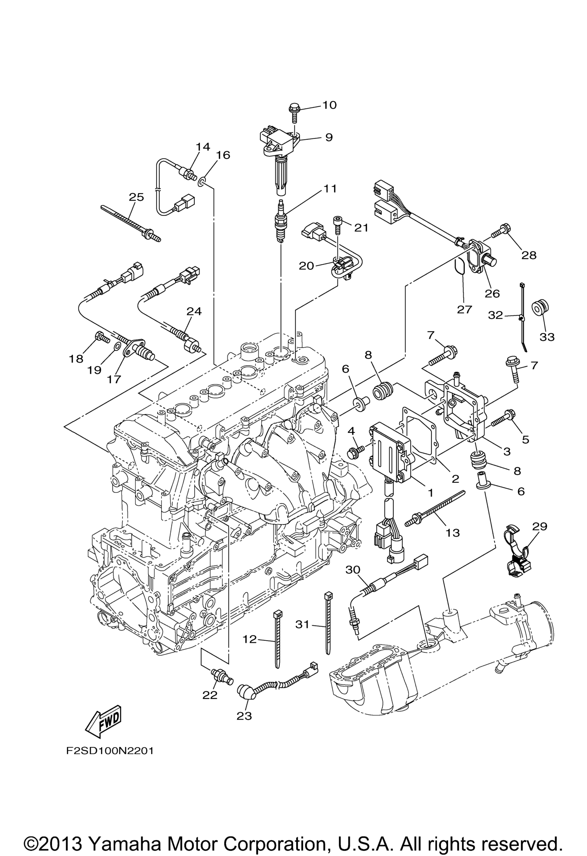
1
Rectifier & Regulator Assy art. 6S5-81960-11-00
По запросу
2
Plate, Rectifier Fitting art. 6S5-81975-00-00
По запросу
3
Cover, Rectifier art. 6S5-81972-01-94
По запросу
4
Bolt, With Washer art. 90119-06MA3-00
По запросу
5
Bolt, With Washer art. 90119-06048-00
По запросу
6
Collar art. 90387-08M37-00
По запросу
7
Bolt, With Washer art. 90119-08187-00
По запросу
8
Grommet art. 90480-22M15-00
По запросу
9
Ignition Coil Assy art. 6S5-82310-10-00
По запросу
10
Болт Yamaha art. 90105-06903-00
от 750 ₽
OEM
Болт Yamaha
art. 90105-06903-00
750 ₽
Требуется 8 шт.
11
Свеча зажигания LFR6A Yamaha art. LFR-6A000-00-00
от 1 130 ₽
OEM
1 130 ₽
Требуется 4 шт.
12
Clamp art. 90465-13M18-00
По запросу
13
Clamp art. 90464-20005-00
По запросу
14
Thermosensor Assy art. 61A-85790-01-00
По запросу
16
Шайба Yamaha art. 92990-10600-00
от 350 ₽
OEM
Шайба Yamaha
art. 92990-10600-00
350 ₽
Требуется 1 шт.
17
Thermo Switch Assy art. 60E-82560-01-00
По запросу
18
Болт Yamaha art. 97D95-06016-00
По запросу
19
Шайба Yamaha art. 92990-06600-00
от 400 ₽
OEM
Шайба Yamaha
art. 92990-06600-00
400 ₽
Требуется 2 шт.
20
Sensor, Cam Position art. 60E-85896-02-00
По запросу
21
Bolt art. 91380-06016-00
По запросу
22
Oil Pressure Switch Assy art. 68V-82504-00-00
По запросу
23
Lead Wire Assy art. 6S5-81315-01-00
По запросу
24
Sensor, Knock art. 6AN-85780-01-00
По запросу
25
Clamp art. 90464-20005-00
По запросу
26
Earth Plate Comp art. 6CS-8273J-11-00
По запросу
27
Уплотнительное кольцо Yamaha art. 93210-32172-00
от 840 ₽
OEM
840 ₽
Требуется 1 шт.
28
Bolt, With Washer art. 90119-06MA3-00
По запросу
29
Clamp art. 90464-20008-00
По запросу
30
Thermosensor Assy art. 6AA-85790-00-00
По запросу
31
Clamp art. 90464-20005-00
По запросу
32
Clamp art. 90464-31002-00
По запросу
33
Grommet art. 90480-20132-00
По запросу
Нужна консультация
Мы ответим вам на этот номер
Или укажите свою почту - и мы ответим на нее
Добавлено в корзину
Вы только что добавили в корзину:
Перейти в корзину
Вход в интернет магазин
Войти
Зарегистрироваться
Номер телефона необходим для оформления заказа
Восстановить пароль
Укажите ваш email адрес или логин и мы вышлем ссылку для восстановления пароля.