Упс, к сожалению, версия вашего браузера несовместима с сайтом. Вероятнее всего она устарела или давно не обновлялась.
Попробуйте открыть сайт atvstyle.ru с одного из поддерживаемых браузеров:
Google
Chrome
Safari
Mozilla
Firefox
Microsoft
Edge
Opera
Yandex
Browser

Ваша корзина
Ваша корзина пуста
Перейти в каталог
Личный кабинет +7 903 799 1446 +7 985 444 5566
модель 2015 года
  • Модель FX SVHO
  • Схема Cylinder 1 для FX SVHO (FC1800P)

  • Код модели FX SVHO (FC1800P)
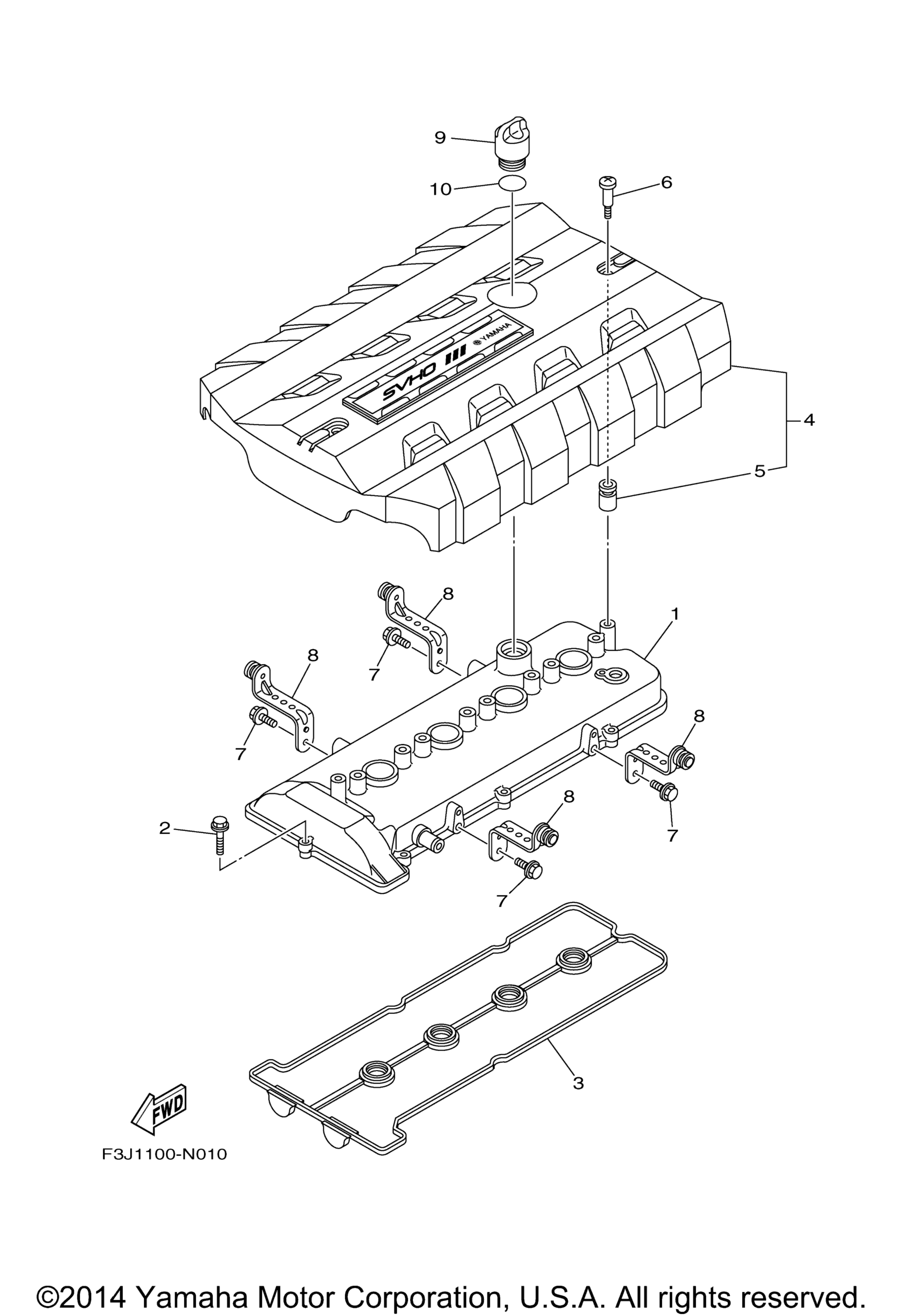
Схема
Детали
Cylinder 1
Номер
Наименование детали
Цена
1
Cover, Cylinder Head 1 art. 6S5-11191-20-00
По запросу
2
Bolt, Flange art. 90105-06028-00
По запросу
3
Прокладка клапанной крышки Yamaha art. 6BH-11193-00-00
По запросу
4
Cover Assy 1 art. 6ET-E110M-00-00
По запросу
5
. .Grommet, Anode art. 6S5-E1328-00-00
По запросу
6
Bolt, Cover Mounting art. 6S5-E118E-02-00
По запросу
7
Bolt, Flange art. 95814-06012-00
По запросу
8
Stay art. 6S5-11941-11-00
По запросу
9
Plug, Oil art. 6S5-15363-00-00
По запросу
10
.O-Ring art. 93210-24235-00
По запросу
Нужна консультация
Мы ответим вам на этот номер
Или укажите свою почту - и мы ответим на нее
Добавлено в корзину
Вы только что добавили в корзину:
Перейти в корзину
Вход в интернет магазин
Войти
Зарегистрироваться
Номер телефона необходим для оформления заказа
Восстановить пароль
Укажите ваш email адрес или логин и мы вышлем ссылку для восстановления пароля.