Упс, к сожалению, версия вашего браузера несовместима с сайтом. Вероятнее всего она устарела или давно не обновлялась.
Попробуйте открыть сайт atvstyle.ru с одного из поддерживаемых браузеров:
Google
Chrome
Safari
Mozilla
Firefox
Microsoft
Edge
Opera
Yandex
Browser

Ваша корзина
Ваша корзина пуста
Перейти в каталог
Личный кабинет +7 903 799 1446 +7 985 444 5566
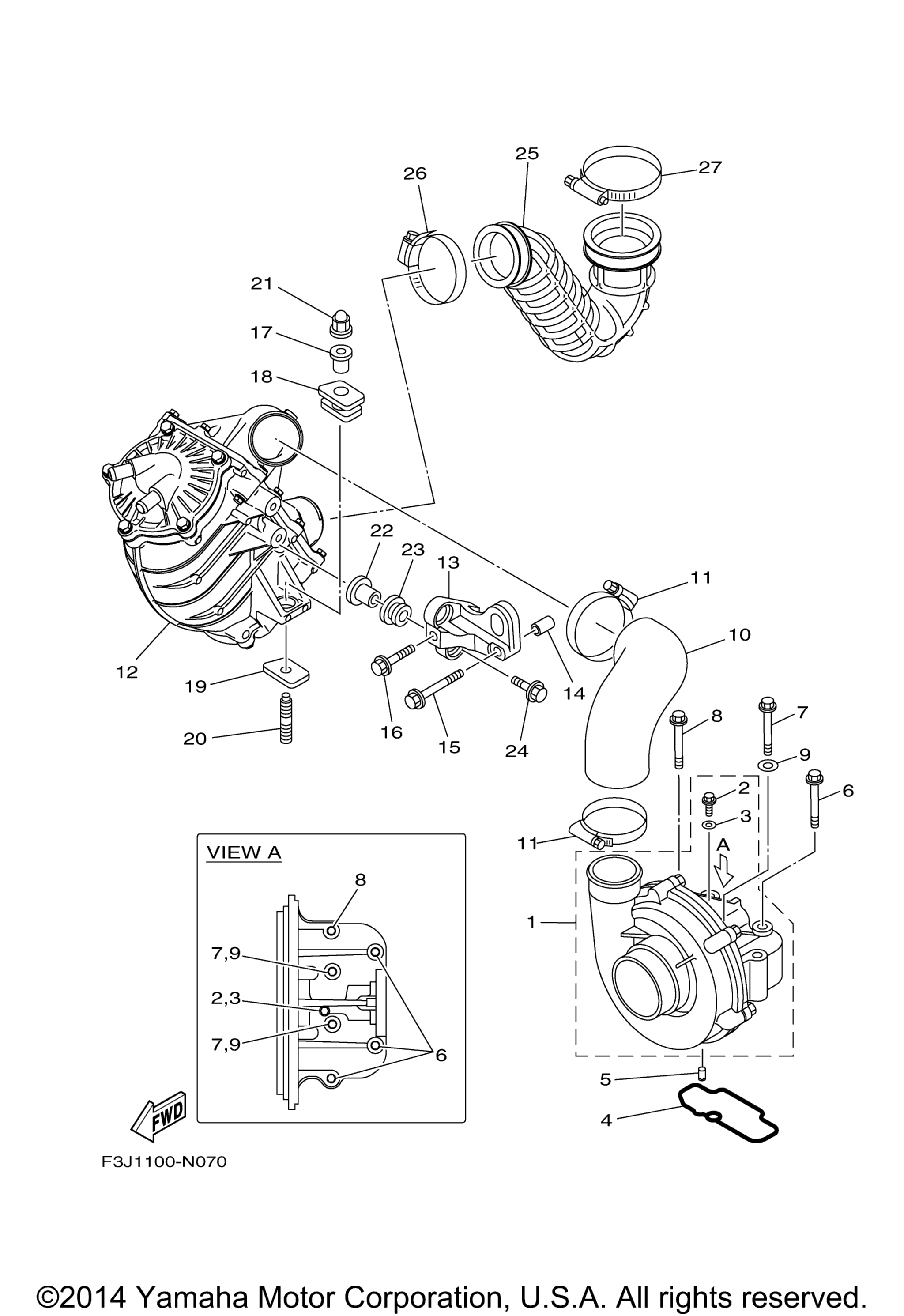
модель 2015 года
  • Модель FX SVHO
  • Схема Intake 2 для FX SVHO (FC1800P)

  • Код модели FX SVHO (FC1800P)
Схема
Детали
Intake 2
Номер
Наименование детали
Цена
1
Super Charger Assy art. 99999-04340-00
По запросу
2
. .Bolt, Flange art. 90105-05020-00
По запросу
3
. .Gasket art. 6S5-14199-00-00
По запросу
4
Прокладка Yamaha art. 6S5-1416A-00-00
от 1 620 ₽
OEM
Прокладка Yamaha
art. 6S5-1416A-00-00
1 620 ₽
Требуется 1 шт.
5
Штифт Yamaha art. 93604-10M03-00
от 690 ₽
OEM
Штифт Yamaha
art. 93604-10M03-00
690 ₽
Требуется 2 шт.
6
Болт с фланцем Yamaha art. 95814-08065-00
от 600 ₽
OEM
600 ₽
Требуется 3 шт.
7
Bolt, Flange art. 95814-06065-00
По запросу
8
Bolt, Flange art. 90105-08188-00
По запросу
9
Washer, Plate art. 90201-06028-00
По запросу
10
Pipe art. 6S5-14349-00-00
По запросу
11
Hose Clamp Assy art. 90450-75003-00
По запросу
12
Air Cooler Assy art. 6ET-13670-01-00
По запросу
13
Bracket, Air Cooler art. 6S5-13691-12-00
По запросу
14
Pin, Dowel art. 99590-14016-00
По запросу
15
Bolt, With Washer art. 90119-10047-00
По запросу
16
Bolt, With Washer art. 90119-10046-00
По запросу
17
Collar art. 90387-11007-00
По запросу
18
Grommet art. 6S5-14435-01-00
По запросу
19
Plate art. 6S5-14243-01-00
По запросу
20
Bolt, Stud art. 90116-10044-00
По запросу
21
Nut, Crown art. 90176-10001-00
По запросу
22
Collar art. 90387-11008-00
По запросу
23
Grommet art. 90480-21M63-00
По запросу
24
Bolt, With Washer art. 90119-10011-00
По запросу
25
Pipe, Boost art. 6CS-13651-01-00
По запросу
26
Hose Clamp Assy art. 90450-70005-00
По запросу
27
Hose Clamp Assy art. 90450-90002-00
По запросу
Нужна консультация
Мы ответим вам на этот номер
Или укажите свою почту - и мы ответим на нее
Добавлено в корзину
Вы только что добавили в корзину:
Перейти в корзину
Вход в интернет магазин
Войти
Зарегистрироваться
Номер телефона необходим для оформления заказа
Восстановить пароль
Укажите ваш email адрес или логин и мы вышлем ссылку для восстановления пароля.