Упс, к сожалению, версия вашего браузера несовместима с сайтом. Вероятнее всего она устарела или давно не обновлялась.
Попробуйте открыть сайт atvstyle.ru с одного из поддерживаемых браузеров:
Google
Chrome
Safari
Mozilla
Firefox
Microsoft
Edge
Opera
Yandex
Browser

Ваша корзина
Ваша корзина пуста
Перейти в каталог
Личный кабинет +7 903 799 1446 +7 985 444 5566
модель 2015 года
  • Модель VX CRUISER
  • Схема Intake 2 для VX CRUISER_VX1100BP VX DELUXE (VX1100BP)

  • Код модели VX CRUISER_VX1100BP VX DELUXE (VX1100BP)
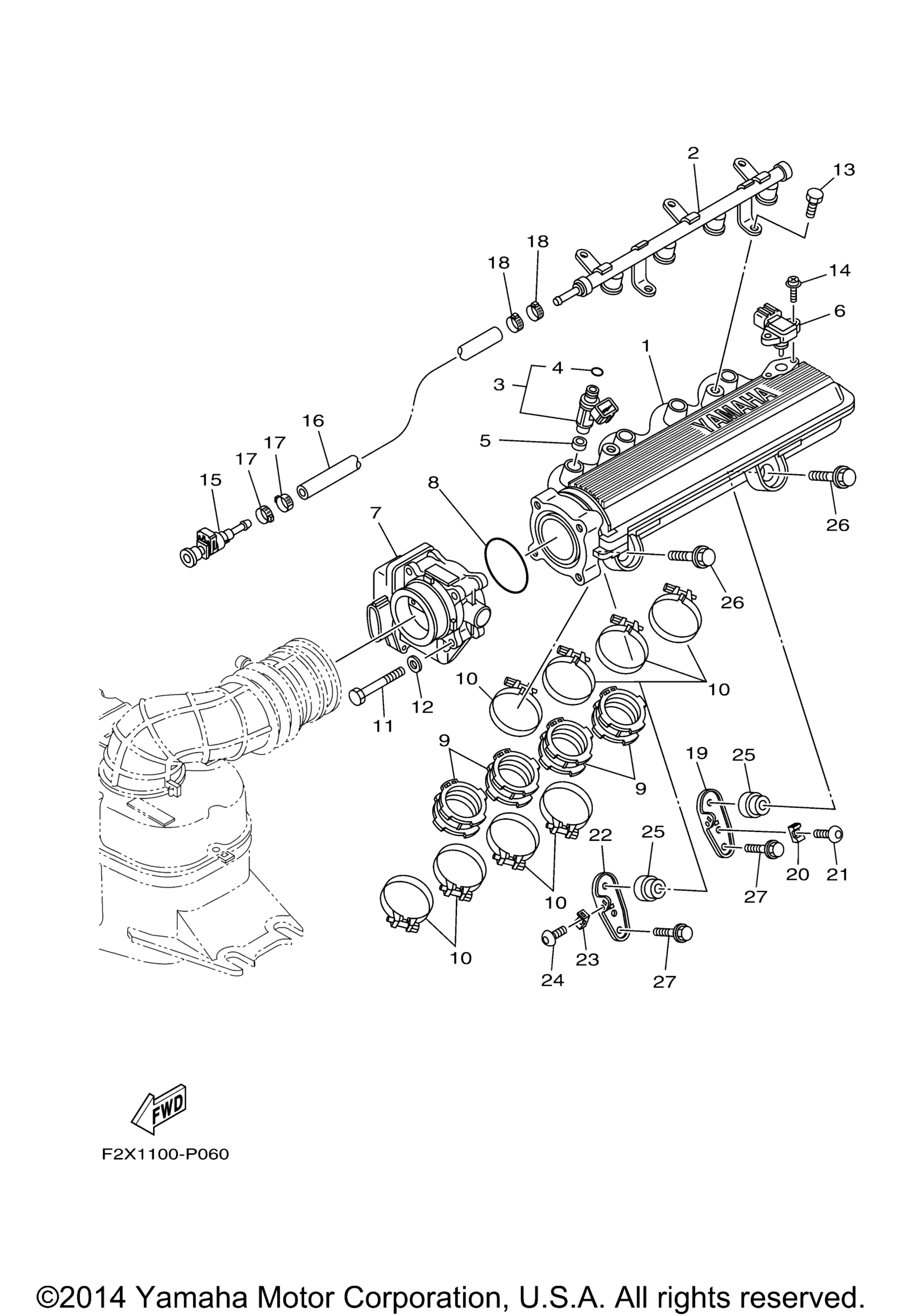
Схема
Детали
Intake 2
Номер
Наименование детали
Цена
1
Manifold, Intake 1 art. 6D3-13641-00-00
По запросу
2
Delivery Pipe art. 6BU-12880-11-00
По запросу
3
Injector art. 60E-13761-20-00
По запросу
4
Кольцо уплотнительное Yamaha art. 68V-1416A-00-00
от 1 420 ₽
OEM
1 420 ₽
Требуется 1 шт.
5
.Gasket, Manifold art. 8FP-13556-10-00
По запросу
6
Sensor Assy art. 68F-83688-10-00
По запросу
7
Throttle Body Assy art. 6BU-13750-02-00
По запросу
8
Seal art. 6D3-14457-00-00
По запросу
9
Joint, Throttle Body 1 art. 6D3-13795-01-00
По запросу
10
Hose Clamp Assy art. 90450-57006-00
По запросу
11
Bolt 1 art. 68V-13573-00-00
По запросу
12
Washer art. 6P2-13578-00-00
По запросу
13
Bolt art. 63P-14446-00-00
По запросу
14
Screw 3 art. 6D3-81147-00-00
По запросу
15
Fuel Pipe Joint art. 6S5-24300-01-00
По запросу
16
Hose art. 6D3-14294-11-00
По запросу
17
Hose Clamp Assy art. 90450-17M17-00
По запросу
18
Hose Clamp Assy art. 90450-17M17-00
По запросу
19
Stay 2 art. 6EX-14414-00-00
По запросу
20
Bracket 1 art. 60E-1244E-00-00
По запросу
21
Bolt, Button Head art. 92014-06012-00
По запросу
22
Stay 2 art. 6EX-14414-10-00
По запросу
23
Bracket 1 art. 60E-1244E-00-00
По запросу
24
Bolt, Button Head art. 92014-06012-00
По запросу
25
Collar art. 60E-14449-00-94
По запросу
26
Bolt, With Washer art. 90119-08050-00
По запросу
27
Bolt, With Washer art. 90119-08074-00
По запросу
Нужна консультация
Мы ответим вам на этот номер
Или укажите свою почту - и мы ответим на нее
Добавлено в корзину
Вы только что добавили в корзину:
Перейти в корзину
Вход в интернет магазин
Войти
Зарегистрироваться
Номер телефона необходим для оформления заказа
Восстановить пароль
Укажите ваш email адрес или логин и мы вышлем ссылку для восстановления пароля.