Упс, к сожалению, версия вашего браузера несовместима с сайтом. Вероятнее всего она устарела или давно не обновлялась.
Попробуйте открыть сайт atvstyle.ru с одного из поддерживаемых браузеров:
Google
Chrome
Safari
Mozilla
Firefox
Microsoft
Edge
Opera
Yandex
Browser

Ваша корзина
Ваша корзина пуста
Перейти в каталог
Личный кабинет +7 903 799 1446 +7 985 444 5566
модель 2019 года
  • Модель VX
  • Схема CYLINDER для VX LIMITED (VX1050FU)

  • Код модели VX LIMITED (VX1050FU)
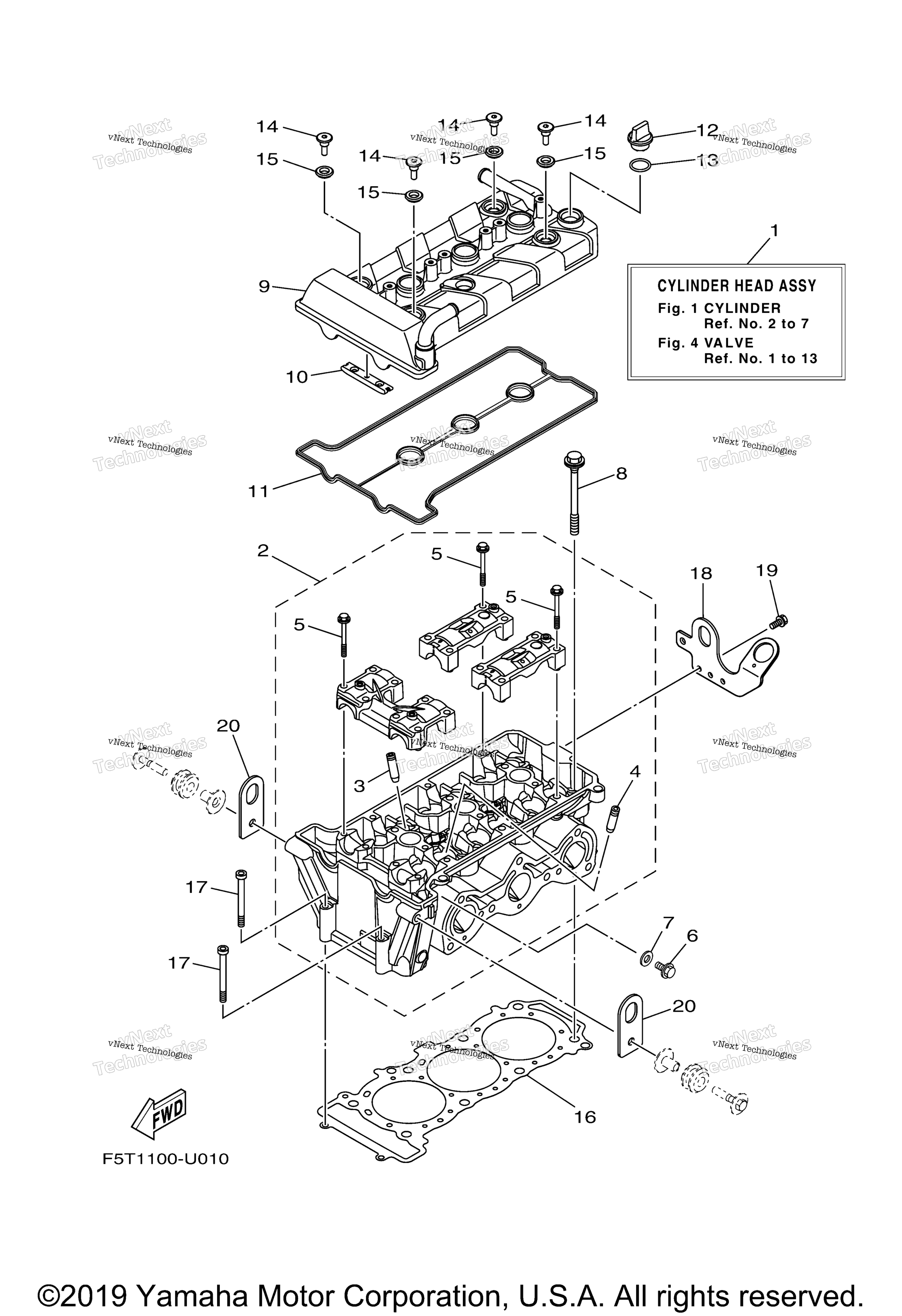
Схема
Детали
CYLINDER
Номер
Наименование детали
Цена
1
Cylinder Head Complete art. 6EY-11110-00-00
По запросу
2
Cylinder Head Assy art. 6EY-11102-00-00
По запросу
3
. .Guide, Valve 1 art. 2C0-11133-11-00
По запросу
4
. .Guide, Valve 2 art. 8HF-11134-10-00
По запросу
5
. .Bolt, Flange art. 90105-06027-00
По запросу
6
Bolt, Flange (Small Head) art. 95024-08012-00
По запросу
7
Gasket art. 90430-08119-00
от 550 ₽
Аналог
Шайба Yamaha
art. 90201-08087-00
550 ₽
Требуется 1 шт.
8
Болт ГБЦ Yamaha art. 90119-10004-00
По запросу
9
Cover, Cylinder Head 1 art. 6EY-11191-10-00
По запросу
10
Успокоитель цепи ГРМ Yamaha art. 5BE-12241-01-00
По запросу
11
.Gasket, Head Cover 1 art. 6EY-11193-00-00
По запросу
12
Plug, Oil art. 3Y1-15363-10-00
По запросу
13
Уплотнительное кольцо Yamaha art. 93210-19123-00
от 350 ₽
14
Bolt art. 90109-066F0-00
По запросу
15
Шайба резиновая Yamaha art. 5VY-1111G-00-00
от 1 270 ₽
OEM
1 270 ₽
Требуется 4 шт.
16
.Gasket, Cylinder Head 1 art. 6EY-11181-01-00
По запросу
17
Bolt, Hexagon Socket Head art. 91314-06065-00
По запросу
18
Hanger, Engine 2 art. 6EY-1111E-10-00
По запросу
19
Bolt, With Washer art. 90119-06078-00
По запросу
20
Hanger, Engine art. 6EY-11119-00-00
По запросу
Нужна консультация
Мы ответим вам на этот номер
Или укажите свою почту - и мы ответим на нее
Добавлено в корзину
Вы только что добавили в корзину:
Перейти в корзину
Вход в интернет магазин
Войти
Зарегистрироваться
Номер телефона необходим для оформления заказа
Восстановить пароль
Укажите ваш email адрес или логин и мы вышлем ссылку для восстановления пароля.