Упс, к сожалению, версия вашего браузера несовместима с сайтом. Вероятнее всего она устарела или давно не обновлялась.
Попробуйте открыть сайт atvstyle.ru с одного из поддерживаемых браузеров:
Google
Chrome
Safari
Mozilla
Firefox
Microsoft
Edge
Opera
Yandex
Browser

Ваша корзина
Ваша корзина пуста
Перейти в каталог
Личный кабинет +7 903 799 1446 +7 985 444 5566
модель 2004 года
  • Модель FX HO
  • Схема OIL COOLER для FX High Output (FX1100C)

  • Код модели FX High Output (FX1100C)
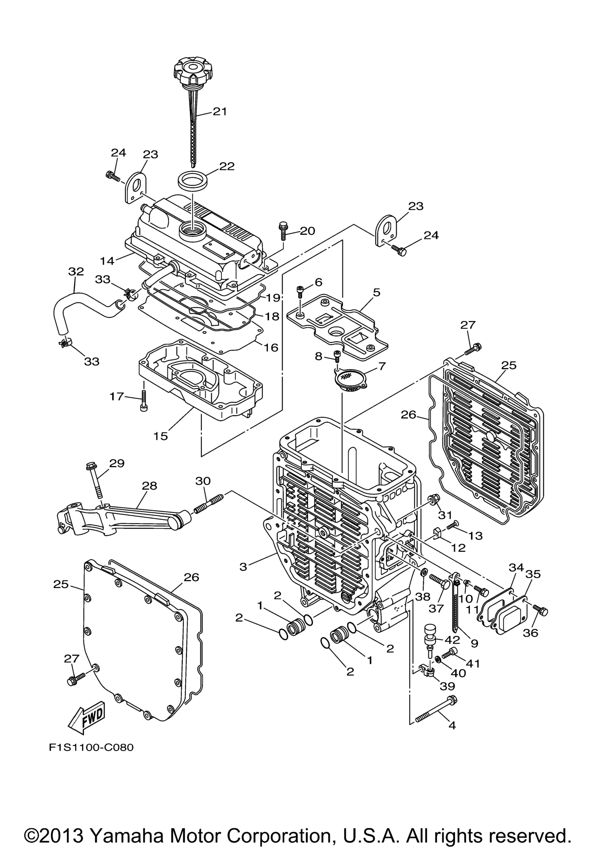
Схема
Детали
OIL COOLER
Номер
Наименование детали
Цена
1
Connector art. 60E-13446-00-00
По запросу
2
Кольцо резиновое Yamaha art. 93210-18322-00
от 310 ₽
3
Case, Oil Cooler art. 6B6-13462-00-94
По запросу
4
Bolt, With Washer art. 90119-10020-00
По запросу
5
Plate, Baffle art. 6B6-13317-00-00
По запросу
6
Bolt art. 91317-05014-00
По запросу
7
Strainer 2 art. 60E-13421-00-00
По запросу
8
Bolt art. 91317-06014-00
По запросу
9
Clamp art. 90465-12M53-00
По запросу
10
Collar art. 90387-06M05-00
По запросу
11
Bolt, With Washer art. 97E95-06520-00
По запросу
12
Anode art. 6E5-11325-00-00
По запросу
13
Screw, Flat Head art. 98780-04014-00
По запросу
14
Cover, Oil Cooler art. 60E-13463-10-94
По запросу
15
Plate, Breather art. 6B6-11165-00-00
По запросу
16
Plate, Breather 2 art. 6B6-11145-00-00
По запросу
17
Bolt art. 91317-05035-00
По запросу
18
Gasket art. 60E-13477-00-00
По запросу
19
Gasket art. 60E-13475-00-00
По запросу
20
Bolt, Flange art. 90105-06036-00
По запросу
21
Plug, Oil Level art. 6BU-15362-A0-00
По запросу
22
O-Ring art. 60E-13473-00-00
По запросу
23
Hanger, Engine art. 6B6-11119-00-00
По запросу
24
Bolt, With Washer art. 90119-06023-00
По запросу
25
Cover, Oil Cooler art. 6D3-13443-00-94
По запросу
26
Gasket art. 60E-13476-10-00
По запросу
27
.Bolt, Flange art. 90105-06M07-00
По запросу
28
Stay art. 6B6-13151-00-94
По запросу
29
Болт с шайбой Yamaha art. 90119-10M23-00
от 1 520 ₽
OEM
1 520 ₽
Требуется 2 шт.
30
Bolt, Stud art. 90116-10016-00
По запросу
31
Nut, Crown art. 90176-10001-00
По запросу
32
Pipe, Breather 2 art. 6B6-11167-00-00
По запросу
33
Clip art. 90467-170A0-00
По запросу
34
Gasket art. 60E-13567-00-00
По запросу
35
Cover 2 art. 60E-13882-00-00
По запросу
36
Bolt, With Washer art. 97580-06516-00
По запросу
37
Bolt art. 97013-06012-00
По запросу
38
Шайба Yamaha art. 92990-06600-00
от 400 ₽
OEM
Шайба Yamaha
art. 92990-06600-00
400 ₽
Требуется 2 шт.
39
Bracket 1 art. 60E-51341-00-94
По запросу
40
Шайба Yamaha art. 92990-06600-00
от 400 ₽
OEM
Шайба Yamaha
art. 92990-06600-00
400 ₽
Требуется 2 шт.
41
Bolt art. 91380-06020-00
По запросу
42
Grommet art. 90480-06M46-00
По запросу
Нужна консультация
Мы ответим вам на этот номер
Или укажите свою почту - и мы ответим на нее
Добавлено в корзину
Вы только что добавили в корзину:
Перейти в корзину
Вход в интернет магазин
Войти
Зарегистрироваться
Номер телефона необходим для оформления заказа
Восстановить пароль
Укажите ваш email адрес или логин и мы вышлем ссылку для восстановления пароля.