Упс, к сожалению, версия вашего браузера несовместима с сайтом. Вероятнее всего она устарела или давно не обновлялась.
Попробуйте открыть сайт atvstyle.ru с одного из поддерживаемых браузеров:
Google
Chrome
Safari
Mozilla
Firefox
Microsoft
Edge
Opera
Yandex
Browser

Ваша корзина
Ваша корзина пуста
Перейти в каталог
Личный кабинет +7 903 799 1446 +7 985 444 5566
модель 2010 года
  • Модель VX DELUXE
  • Схема INTAKE для VX DELUXE (VX1100BJ)

  • Код модели VX DELUXE (VX1100BJ)
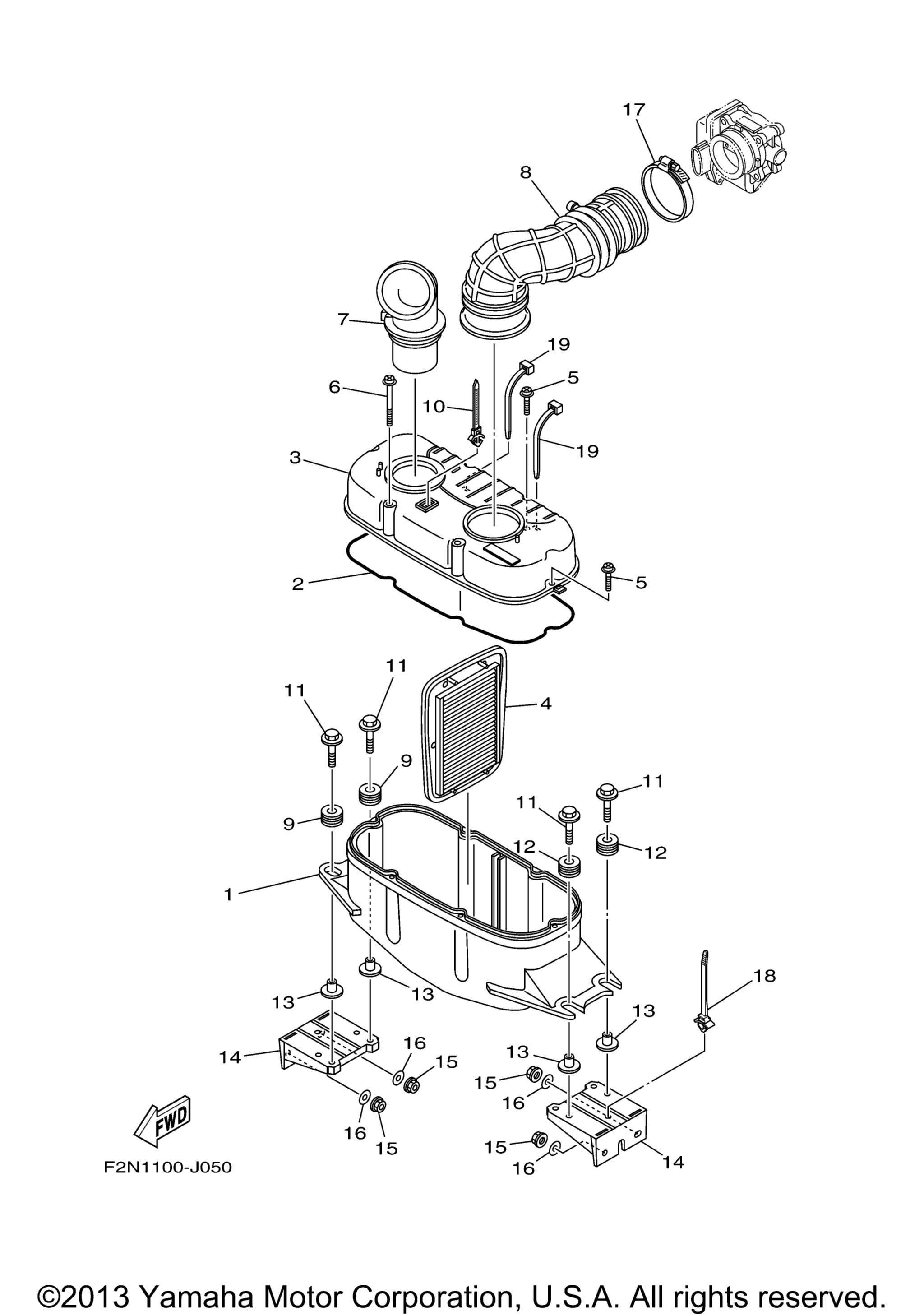
Схема
Детали
INTAKE
Номер
Наименование детали
Цена
1
Case, Air Cleaner 1 art. 6D3-14411-01-00
По запросу
2
Прокладка крышки корпуса воздушного фильтра Yamaha art. 1VJ-14462-00-00
По запросу
3
Case, Air Cleaner 2 art. 6D3-14421-03-00
По запросу
4
Element, Air Cleaner art. 6D3-14451-00-00
По запросу
5
Screw, With Washer art. 90159-05013-00
По запросу
6
Screw, With Washer art. 90159-05014-00
По запросу
7
Duct art. 6D3-14437-00-00
По запросу
8
Pipe art. 6D3-14419-01-00
По запросу
9
Grommet art. 90480-22M15-00
По запросу
10
Хомут с фиксатором art. 90464-10112-00
от 690 ₽
11
Bolt, With Washer art. 90119-08187-00
По запросу
12
Grommet art. 90480-22M15-00
По запросу
13
Collar art. 90387-08M37-00
По запросу
14
Bracket 2 art. F2N-U8572-00-00
По запросу
15
Гайка Yamaha art. 95780-08300-00
от 1 270 ₽
OEM
Гайка Yamaha
art. 95780-08300-00
1 270 ₽
Требуется 4 шт.
16
Washer art. 9299R-08200-00
По запросу
17
Band, Hose 75 art. 90601-175UR-00
По запросу
18
Clamp art. 90464-38800-00
По запросу
19
Clamp 160X4.83 art. 90464-40825-00
По запросу
Нужна консультация
Мы ответим вам на этот номер
Или укажите свою почту - и мы ответим на нее
Добавлено в корзину
Вы только что добавили в корзину:
Перейти в корзину
Вход в интернет магазин
Войти
Зарегистрироваться
Номер телефона необходим для оформления заказа
Восстановить пароль
Укажите ваш email адрес или логин и мы вышлем ссылку для восстановления пароля.