Упс, к сожалению, версия вашего браузера несовместима с сайтом. Вероятнее всего она устарела или давно не обновлялась.
Попробуйте открыть сайт atvstyle.ru с одного из поддерживаемых браузеров:
Google
Chrome
Safari
Mozilla
Firefox
Microsoft
Edge
Opera
Yandex
Browser

Ваша корзина
Ваша корзина пуста
Перейти в каталог
Личный кабинет +7 903 799 1446 +7 985 444 5566
модель 2012 года
  • Модель Super Jet
  • Схема GENERATOR для SUPER JET (SJ700BL)

  • Код модели SUPER JET (SJ700BL)
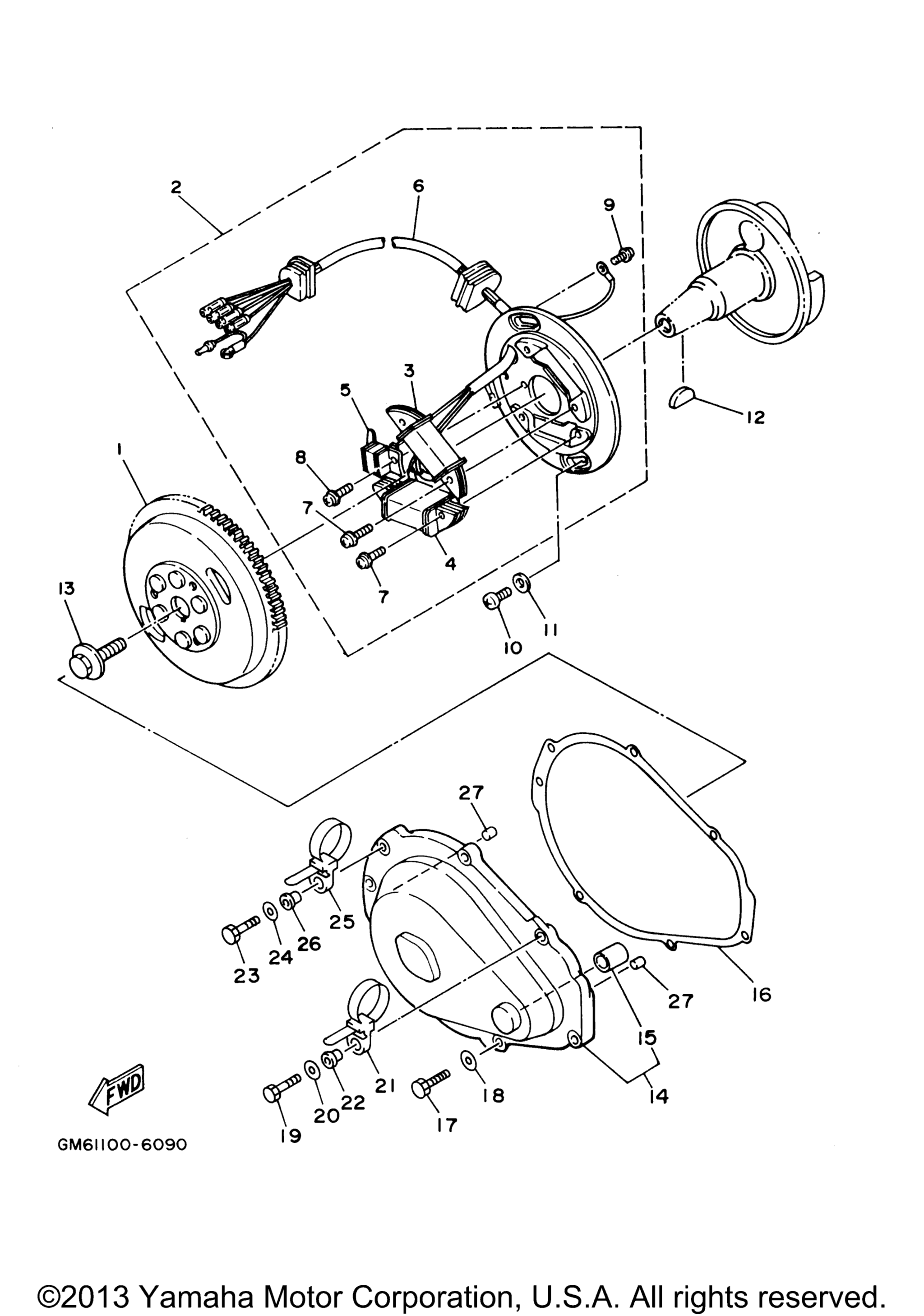
Схема
Детали
GENERATOR
Номер
Наименование детали
Цена
1
Rotor Assy art. 62T-85550-01-00
По запросу
2
Base Assy art. 6R8-85560-10-00
По запросу
3
Катушка генератора Yamaha art. 62T-85520-01-00
от 22 750 ₽
OEM
22 750 ₽
Требуется 1 шт.
4
. .Coil, Lighting art. 62T-85533-00-00
По запросу
5
. .Coil, Pulser art. 6M6-85580-00-00
По запросу
6
. .Lead Wire Assy art. 6R8-85515-10-00
По запросу
7
. .Screw, With Washer art. 97902-05125-00
По запросу
8
. .Screw, With Washer art. 97902-04122-00
По запросу
9
. .Screw, Pan Head art. 98580-04008-00
По запросу
10
Screw, Pan Head art. 98580-06016-00
По запросу
11
Шайба Yamaha art. 92990-06600-00
от 400 ₽
OEM
Шайба Yamaha
art. 92990-06600-00
400 ₽
Требуется 2 шт.
12
Шпонка коленвала Yamaha art. 90280-05001-00
от 1 230 ₽
OEM
1 230 ₽
Требуется 1 шт.
13
Bolt art. 90109-10M44-00
По запросу
14
Cover, Flywheel art. 6M6-81337-00-8S
По запросу
15
. .Bush, Solid art. 90380-12M29-00
По запросу
16
Прокладка Yamaha art. 6M6-81365-A0-00
от 3 750 ₽
OEM
Прокладка Yamaha
art. 6M6-81365-A0-00
3 750 ₽
Требуется 1 шт.
17
Bolt art. 90101-06M27-00
По запросу
18
Шайба Yamaha art. 92990-06600-00
от 400 ₽
OEM
Шайба Yamaha
art. 92990-06600-00
400 ₽
Требуется 5 шт.
19
Bolt art. 97080-06035-00
По запросу
20
Шайба Yamaha art. 92990-06600-00
от 400 ₽
OEM
Шайба Yamaha
art. 92990-06600-00
400 ₽
Требуется 1 шт.
21
Clamp art. 90465-12M53-00
По запросу
22
.Collar art. 90387-06M05-00
По запросу
23
Bolt art. 97080-06035-00
По запросу
24
Шайба Yamaha art. 92990-06600-00
от 400 ₽
OEM
Шайба Yamaha
art. 92990-06600-00
400 ₽
Требуется 1 шт.
25
Clamp art. 90465-12M53-00
По запросу
26
.Collar art. 90387-06M05-00
По запросу
27
Pin, Dowel art. 93606-12019-00
По запросу
Нужна консультация
Мы ответим вам на этот номер
Или укажите свою почту - и мы ответим на нее
Добавлено в корзину
Вы только что добавили в корзину:
Перейти в корзину
Вход в интернет магазин
Войти
Зарегистрироваться
Номер телефона необходим для оформления заказа
Восстановить пароль
Укажите ваш email адрес или логин и мы вышлем ссылку для восстановления пароля.