Упс, к сожалению, версия вашего браузера несовместима с сайтом. Вероятнее всего она устарела или давно не обновлялась.
Попробуйте открыть сайт atvstyle.ru с одного из поддерживаемых браузеров:
Google
Chrome
Safari
Mozilla
Firefox
Microsoft
Edge
Opera
Yandex
Browser

Ваша корзина
Ваша корзина пуста
Перейти в каталог
Личный кабинет +7 903 799 1446 +7 985 444 5566
модель 2020 года
  • Модель YZF R3
  • Схема REAR MASTER CYLINDER для YZFR3 ABS (YZFR3ALL)

  • Код модели YZFR3 ABS (YZFR3ALL)
Схема
Детали
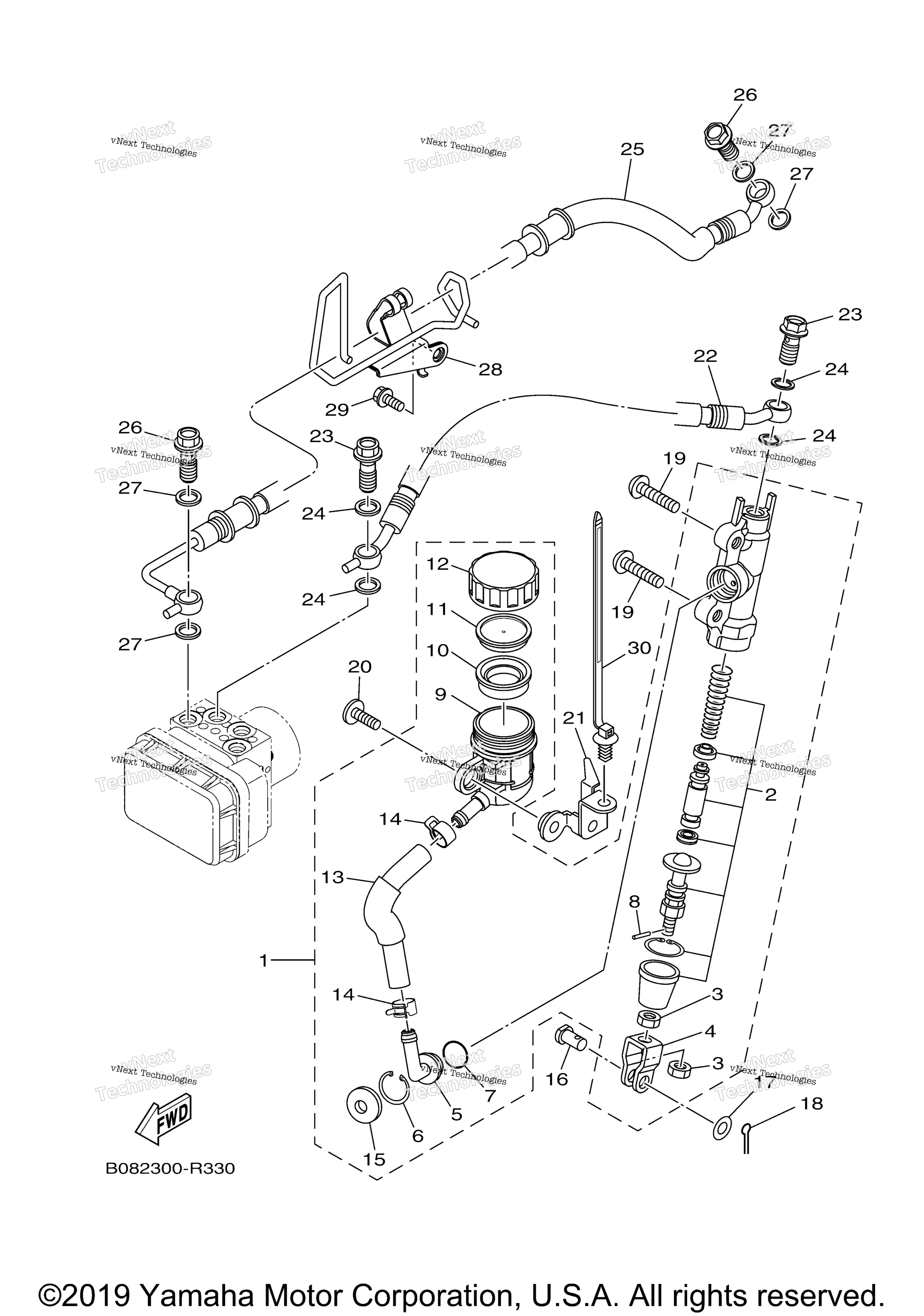
REAR MASTER CYLINDER
Номер
Наименование детали
Цена
1
Rear Master Cylinder Assy art. 1WD-F580E-00-00
По запросу
2
. .Cylinder Kit, Master art. 1WD-F5808-00-00
По запросу
3
. .Nut art. 95317-08700-00
По запросу
4
. .Joint art. 50C-F7222-00-00
По запросу
5
. .Joint art. 50C-F582A-50-00
По запросу
6
. .Circlip art. 50C-F5866-00-00
По запросу
7
Кольцо резиновое Yamaha art. 93210-15566-00
от 840 ₽
OEM
840 ₽
Требуется 1 шт.
8
. .Pin, Brake Rod art. 3KW-27234-00-00
По запросу
9
. .Tank, Reservoir art. 50C-F5894-11-00
По запросу
10
. .Diaphragm, Reservoir art. 2VN-F5854-00-00
По запросу
11
. .Bush,Diaphragm art. 50C-F5855-00-00
По запросу
12
. .Cap, Reservoir art. 1WD-F5852-50-00
По запросу
13
. .Hose, Reservoir art. 1WD-F5895-50-00
По запросу
14
Хомут Yamaha art. 90467-12085-00
от 1 230 ₽
OEM
Хомут Yamaha
art. 90467-12085-00
1 230 ₽
Требуется 2 шт.
15
. .Cover, Dust art. 50C-F589A-00-00
По запросу
16
Pin, Clevis art. 90240-08124-00
По запросу
17
Washer, Plate art. 90201-08083-00
По запросу
18
Штифт-фиксатор Yamaha art. 91490-20015-00
По запросу
19
Bolt, Button Head art. 92012-08030-00
По запросу
20
Bolt,Hex. Socket Button art. 90111-06121-00
По запросу
21
Holder, Reserve Tank art. B04-F582E-00-00
По запросу
22
Hose, Brake 5 art. 2WD-F581K-00-00
По запросу
23
Болт, штуцер art. 90401-10159-00
По запросу
24
Шайба болта тормозной системы Yamaha art. 90201-10118-00
от 450 ₽
OEM
450 ₽
Требуется 4 шт.
25
Hose, Brake 6 art. 2WD-F582J-00-00
По запросу
26
Болт, штуцер art. 90401-10159-00
По запросу
27
Шайба болта тормозной системы Yamaha art. 90201-10118-00
от 450 ₽
OEM
450 ₽
Требуется 4 шт.
28
Holder, Brake Hose art. 2WD-F5887-00-00
По запросу
29
Bolt, Flange Deep Recess art. 95D37-06014-00
По запросу
30
Clamp art. 90464-30009-00
По запросу
Нужна консультация
Мы ответим вам на этот номер
Или укажите свою почту - и мы ответим на нее
Добавлено в корзину
Вы только что добавили в корзину:
Перейти в корзину
Вход в интернет магазин
Войти
Зарегистрироваться
Номер телефона необходим для оформления заказа
Восстановить пароль
Укажите ваш email адрес или логин и мы вышлем ссылку для восстановления пароля.